样品
成果详情
| 项目简介 | |||||
|---|---|---|---|---|---|
| 技术简介: | |||||
| 专利类型: | 实用新型 | 专利申请号: | CN202021431773.2 | 公开号: | CN213158946U |
| 专利权人: | 南方医科大学南方医院 | 发明设计人: | 黄榕;范嘉仪;张萍;郭萍;郭亚云 | ||
| 所属领域: | |||||
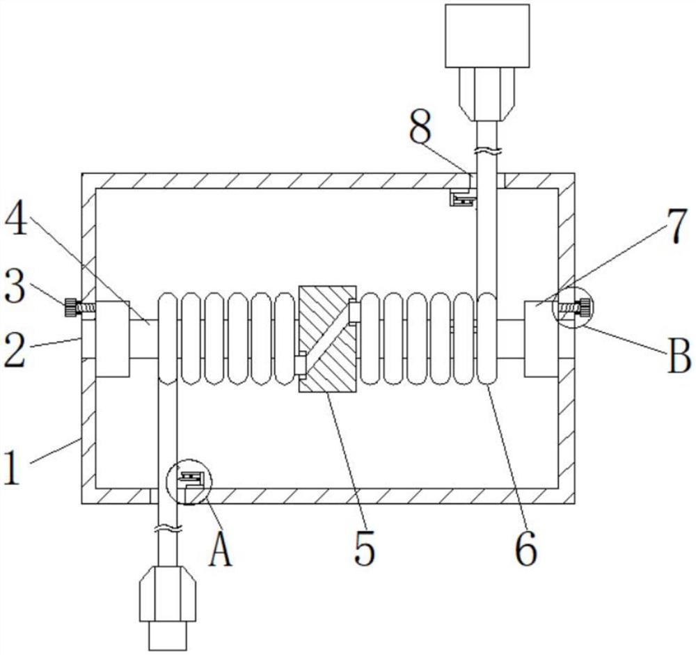
| 摘要: | 本实用新型公开了可调节医用延长管,包括罩壳,所述罩壳顶部的右侧和底部的左侧均开设有开口,所述罩壳内腔的顶部和底部均固定连接有固定板,两个固定板相对的一侧均固定连接有竖板,所述竖板靠近开口一侧的顶部固定连接有安装板,所述安装板的底部设置有活动杆,所述安装板靠近固定板的一侧固定连接有拉簧,所述拉簧远离固定板的一侧与活动杆固定连接,所述活动杆靠近固定板的一侧固定连接有击打桩。本实用新型通过设置罩壳、转轴、定位螺栓、转杆、安装壳、延长管、壳体、开口、发条、活动杆、击打桩、凸块、拉簧、安装板、竖板、固定板和套管的配合使用,具备方便调节延长管长度,拉伸收纳灵活,避免缠绕的优点。 | ||||
| 补充信息 | |||||
| 转让方式: | 成熟度: | 预估价值: | |||
| 市场前景: | |||||