样品
成果详情
| 项目简介 | |||||
|---|---|---|---|---|---|
| 技术简介: | |||||
| 专利类型: | 实用新型 | 专利申请号: | CN202123345350.6 | 公开号: | CN217244741U |
| 专利权人: | 南方医科大学深圳医院 | 发明设计人: | 张世浩;桑宏勋;王姣丽;李敏 | ||
| 所属领域: | |||||
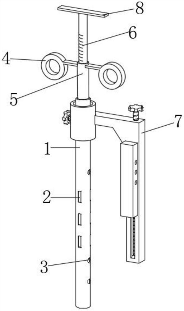
| 摘要: | 本实用新型公开了一种抗感染髓内钉,包括髓内钉本体,所述髓内钉本体上端穿插活动连接有骨水泥导管,所述骨水泥导管上端穿插活动连接有骨水泥推杆,所述髓内钉本体外表面中部开有若干个抗生素释放孔,所述髓内钉本体外表面上部和外表面下部均开有若干个锁定孔,所述髓内钉本体外表面上部设置有瞄准装置,所述瞄准装置位于锁定孔上部,所述骨水泥导管外表面左部和外表面右部均固定连接有拉环,所述骨水泥推杆上端固定连接有推板,所述瞄准装置包括定位架,所述定位架左端固定连接有固定套筒,所述固定套筒外表面左部螺纹连接有紧固螺杆。本实用新型所述的一种抗感染髓内钉,定位效率高,抗感染效果好,稳定性高,适合骨科手术的使用。 | ||||
| 补充信息 | |||||
| 转让方式: | 成熟度: | 预估价值: | |||
| 市场前景: | |||||