样品
成果详情
| 项目简介 | |||||
|---|---|---|---|---|---|
| 技术简介: | |||||
| 专利类型: | 发明 | 专利申请号: | CN201911170540.3 | 公开号: | CN110893986B |
| 专利权人: | 南方医科大学南方医院 | 发明设计人: | 许波;周春兰;许重远;陈晓云;姚玲;宿爱山;何燕 | ||
| 所属领域: | |||||
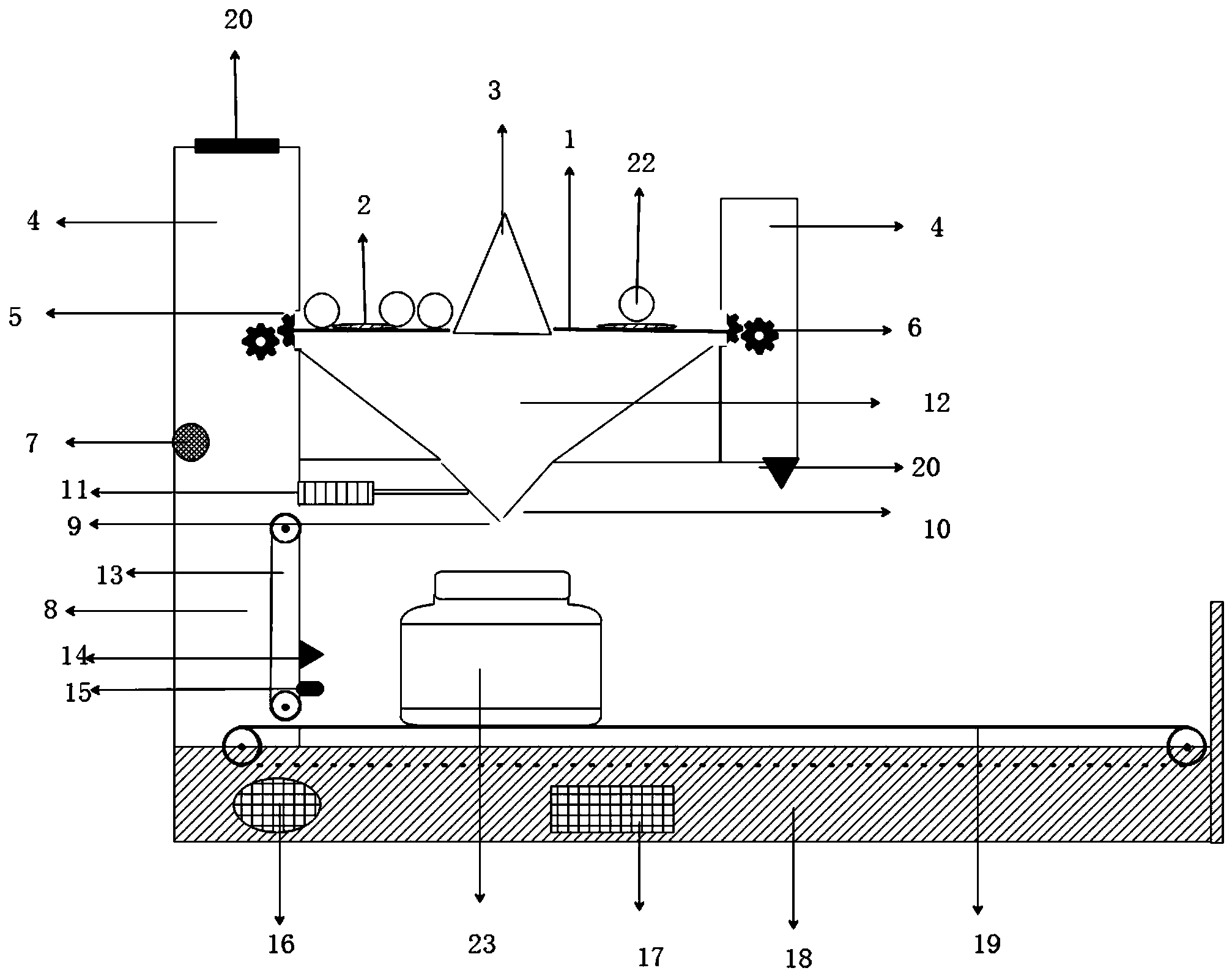
| 摘要: | 本发明公开了一种药瓶传送装置及其实现方法,方法包括以下步骤:通过称重装置获取药物的重量信号;根据药物的重量信号,通过信号处理系统触发控制信号控制显示屏的显示内容,所述显示内容包括药物重量和药物个数;通过信号处理系统控制链条传动装置和皮带传动装置的运动过程;通过链条传动装置带动打印机移动;通过皮带传动装置带动药瓶移动;通过打印机在药瓶外壳打印标识信息。本发明的药物清点效率高且准确度高;通过皮带传动装置自动将药瓶运送到药物通道出口或者运送到底座末端,待药瓶装上药物后自动运出,智能且实用;还可以通过显示器来显示药物清点内容,实用性高,可广泛应用于医疗器械技术领域。 | ||||
| 补充信息 | |||||
| 转让方式: | 成熟度: | 预估价值: | |||
| 市场前景: | |||||