样品
成果详情
| 项目简介 | |||||
|---|---|---|---|---|---|
| 技术简介: | |||||
| 专利类型: | 实用新型 | 专利申请号: | CN202120298325.8 | 公开号: | CN215019571U |
| 专利权人: | 南方医科大学 | 发明设计人: | 杨路;刘芬芳;张继苹;刘明恩;梁丽艳;杨乐;曾婷;文凤;裴婷婷 | ||
| 所属领域: | |||||
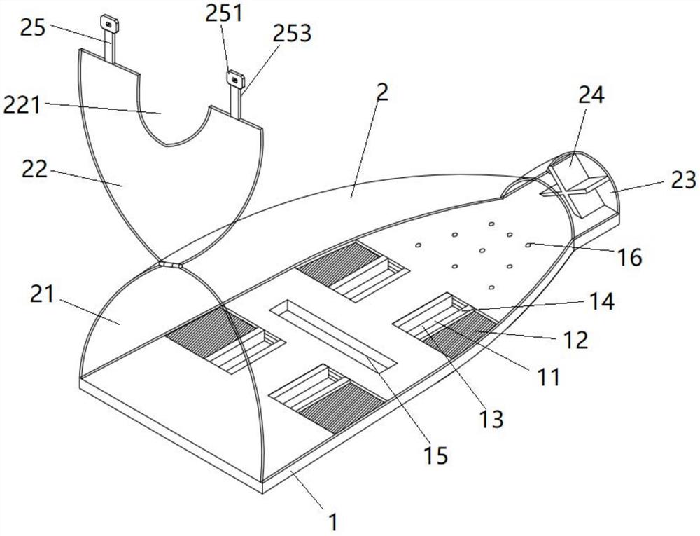
| 摘要: | 本实用新型公开了一种简易实用多功能老鼠固定器,包括底板和罩扣于底板表面的罩体,所述底板开设有四个容许老鼠四肢伸出的通槽,每个通槽均可滑动地设置有滑盖,滑盖侧壁与通槽内壁围合成四肢孔,通过滑盖的滑动调节四肢孔的宽度用于夹持老鼠四肢,并通过磁力组件对滑盖进行定位。本实用新型的老鼠固定器将老鼠限制在罩体和底板构成的容器内,无需实验员动手压制老鼠的操作,避免实验员被老鼠攻击。再通过可调节开口尺寸的四肢孔将老鼠的四肢陷入并夹持固定,提供稳定的老鼠体位便于实验操作。且结构简洁操作便利,可单人操作。 | ||||
| 补充信息 | |||||
| 转让方式: | 成熟度: | 预估价值: | |||
| 市场前景: | |||||