样品
成果详情
| 项目简介 | |||||
|---|---|---|---|---|---|
| 技术简介: | |||||
| 专利类型: | 发明 | 专利申请号: | CN202011436902.1 | 公开号: | CN112568957A |
| 专利权人: | 南方医科大学南方医院 | 发明设计人: | 许波;许重远;赖晶;李丹;罗小琴;蒋琳 | ||
| 所属领域: | |||||
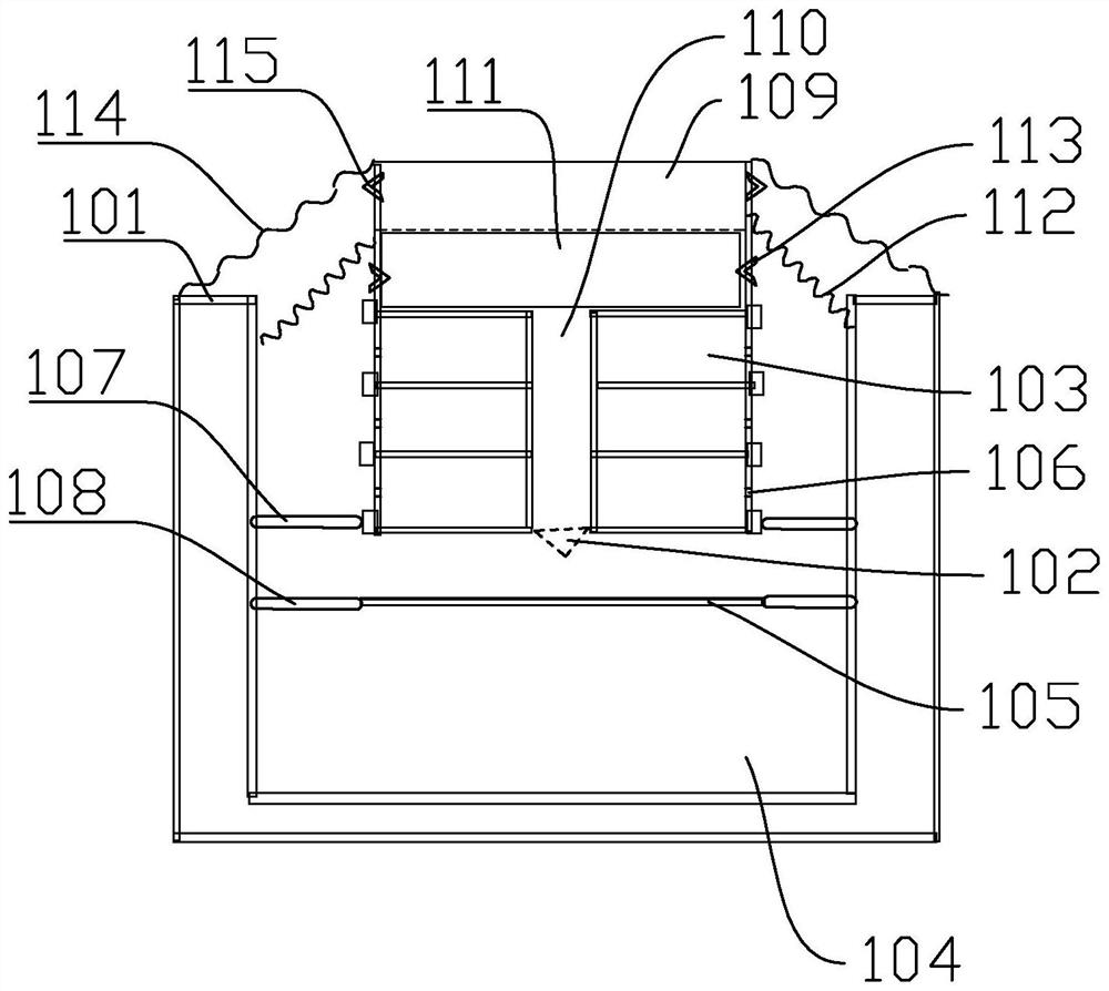
| 摘要: | 本发明公开了用于冷敷止血的反应器,反应器包括外壳和储存装置,外壳内的底部设置有反应腔,反应腔中储存有用于参与制冷反应的溶液一,反应腔的顶部设置有可刺破的封膜;储存装置可上下移动地设置在外壳中,储存装置的底部设置有用于刺破封膜的穿刺部,储存装置设置有多个储存部,储存部包括多个储存格,储存格中储存有用于参与制冷反应的固态物质,储存部中的各储存格层叠设置,储存格的外侧壁设置有用于连通反应腔的连通口。按压储存装置,穿刺部将反应腔顶部的封膜刺破,储存格中的固态物质与反应腔中的溶液一反应制冷,加快止血,防止出现淤血。本发明可广泛应用于医疗器械技术领域。 | ||||
| 补充信息 | |||||
| 转让方式: | 成熟度: | 预估价值: | |||
| 市场前景: | |||||