样品
成果详情
| 项目简介 | |||||
|---|---|---|---|---|---|
| 技术简介: | |||||
| 专利类型: | 实用新型 | 专利申请号: | CN202321911298.2 | 公开号: | CN220293673U |
| 专利权人: | 南方医科大学珠江医院 | 发明设计人: | 冷坷;史雨函;付晓华 | ||
| 所属领域: | |||||
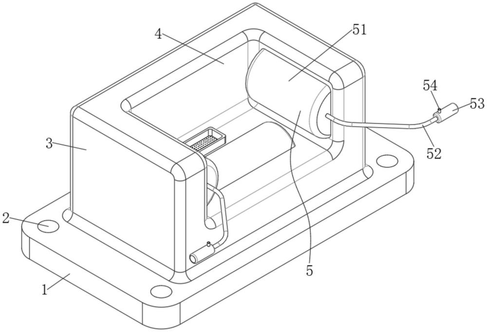
| 摘要: | 本实用新型公开了急性缺血性脑卒中患者介入术中头部固定器,包括固定板,所述固定板的顶部固定保护板,所述保护板的内部开设有放置槽,所述放置槽的内部设置有用于对患者头部进行限位的限位机构,所述限位机构包括对称固定连接在放置槽两侧的保护气囊,所述保护板的内部设置有用于辅助呼吸的呼吸机构;通过分别按压充气气囊,充气气囊将外部的气体通过气管导入到保护气囊的内部,使得两侧的保护气囊分别与患者的头部贴合,从而将患者的头部包裹起来,同时也可以通过放气阀将保护气囊内部多余的气体排出,使得该装置可以更好地包裹住患者的头部,防止患者出现意识障碍乱动,无法配合手术,减少手术的时间。 | ||||
| 补充信息 | |||||
| 转让方式: | 成熟度: | 预估价值: | |||
| 市场前景: | |||||