样品
成果详情
| 项目简介 | |||||
|---|---|---|---|---|---|
| 技术简介: | |||||
| 专利类型: | 实用新型 | 专利申请号: | CN202121323203.6 | 公开号: | CN214667357U |
| 专利权人: | 南方医科大学珠江医院 | 发明设计人: | 彭冬先;刘正勇;王苹苹;黄郁馨;黄洁;黄雪梅;陈洁 | ||
| 所属领域: | |||||
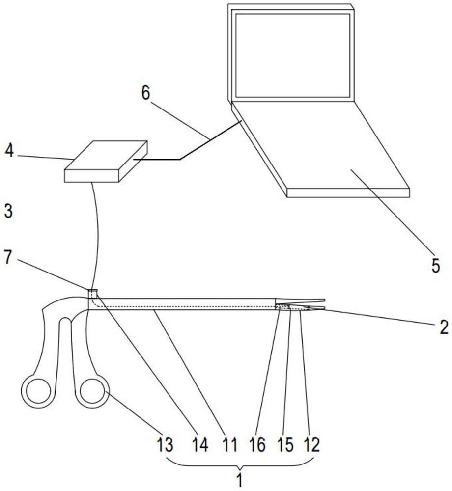
| 摘要: | 本实用新型公开了一种基于光纤光栅传感器的腹腔镜钳装置,包括腹腔镜钳,还包括设置于腹腔镜钳的钳尖用于模拟训练时实时检测反馈夹持力大小的光纤光栅传感器、与光纤光栅传感器连接用于实时将光纤光栅传感器的检测信号进行转换的光纤光栅解调仪和与光纤光栅解调仪连接用于将接收到的光纤光栅解调仪夹持力信号进行实时显示及夹持力度状态提醒的控制装置,光纤光栅传感器通过光纤与光纤光栅解调仪连接,光纤光栅解调仪通过数据线与控制装置连接形成检测反馈系统,钳尖设置有用于光纤光栅传感器安装的安装槽。通过本实用新型能够实时提供力反馈以解决“力触觉丧失”问题。 | ||||
| 补充信息 | |||||
| 转让方式: | 成熟度: | 预估价值: | |||
| 市场前景: | |||||