样品
成果详情
| 项目简介 | |||||
|---|---|---|---|---|---|
| 技术简介: | |||||
| 专利类型: | 实用新型 | 专利申请号: | CN202121887534.2 | 公开号: | CN215457846U |
| 专利权人: | 南方医科大学珠江医院 | 发明设计人: | 罗金华;李双华;卢容芝;王丹丹 | ||
| 所属领域: | |||||
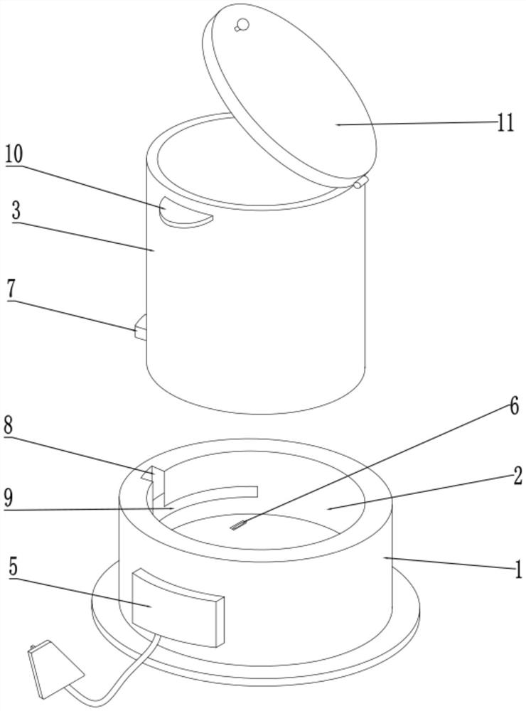
| 摘要: | 本实用新型公开了一种手术用可恒定温度的保温碗,包括底座,在底座的顶部开设有容纳腔,在容纳腔上设有可拆卸的保温碗体;在底座上且位于容纳腔的下方设有电磁加热圈,电磁加热圈通过导电线与设在底座外壁上的控制器连接;在底座的顶部设有与控制器连接的温度传感器;还在保温碗体的下端外壁上设有限位块,在底座的顶部自上而下设有与容纳腔连通的竖向槽且该竖向槽工作时与限位块配合引导保温碗体伸入容纳腔内,在底座上位于竖向槽底部的一端设有与竖向槽相连通的弧形槽且该弧形槽工作时与限位块配合将保温碗体卡扣固定在底座上。本实用新型具有不易倾倒、能够对手术用的无菌生理盐水进行恒温保温、便于对腹腔镜进行预热除雾及防雾清洗的优点。 | ||||
| 补充信息 | |||||
| 转让方式: | 成熟度: | 预估价值: | |||
| 市场前景: | |||||