样品
成果详情
| 项目简介 | |||||
|---|---|---|---|---|---|
| 技术简介: | |||||
| 专利类型: | 实用新型 | 专利申请号: | CN202323082311.0 | 公开号: | CN221808000U |
| 专利权人: | 深圳市宝安区中心血站;南方医科大学 | 发明设计人: | 张胜;李婷婷;李金峰 | ||
| 所属领域: | |||||
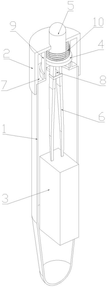
| 摘要: | 本实用新型公开了一种血型物质收集管,涉及医疗器械领域,其包括管体、盖体、采样头、夹持机构和环体,采样头设于管体内,夹持机构包括滑动部和夹持结构,滑动部与盖体弹性滑动且滑动部上设置有穿过盖体的按压头,夹持结构为两个弹性靠近的夹持杆;环体安装在盖体上,环体上设置有横杆,横杆位于两个夹持杆之间;本实用新型通过滑动部滑动配合横杆使得两个夹持杆的相互靠近或远离,夹持或松开采样头,实现了血型物质的无接触采样,保证了无菌采样,避免了采样头受到污染,保证了唾液样本检测精度,同时能够进行离心操作,不需要按压收集血型物质,能够对较小量的血型物质进行收集,且整体结构紧凑小巧,密封性好,便于携带。 | ||||
| 补充信息 | |||||
| 转让方式: | 成熟度: | 预估价值: | |||
| 市场前景: | |||||