样品
成果详情
项目简介 | |||||
---|---|---|---|---|---|
技术简介: | |||||
专利类型: | 实用新型 | 专利申请号: | CN202121466978.9 | 公开号: | CN215534399U |
专利权人: | 南方医科大学南方医院 | 发明设计人: | 胡朝 | ||
所属领域: | |||||
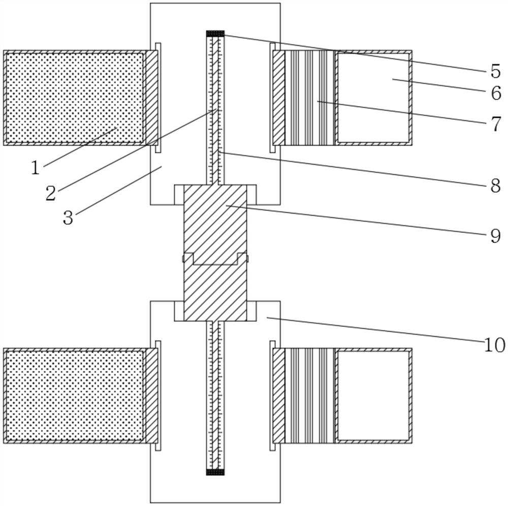
摘要: | 本实用新型属于医疗器械技术领域,尤其为一种用于更换膝关节后功能锻炼的角度测量装置,包括大腿固定板和小腿固定板,所述大腿固定板和小腿固定板内部均开设有安装腔,所述安装腔内部安装有延伸板,两个所述延伸板之间设置有连接机构,所述延伸板和安装腔顶部设置有伸缩自锁机构,所述伸缩自锁机构包括卡槽和固定腔,所述卡槽均匀开设于延伸板表面,所述固定腔内部设置有卡球,所述卡球和卡槽相适配,所述卡球球径小于所述固定腔腔口直径,所述卡球一侧设置有弹簧,所述大腿固定板和小腿固定板两侧分别设置有绑带结构。 | ||||
补充信息 | |||||
转让方式: | 成熟度: | 预估价值: | |||
市场前景: |