样品
成果详情
| 项目简介 | |||||
|---|---|---|---|---|---|
| 技术简介: | |||||
| 专利类型: | 实用新型 | 专利申请号: | CN202022808289.3 | 公开号: | CN214825710U |
| 专利权人: | 南方医科大学南方医院 | 发明设计人: | 许波;许重远;宿爱山;李俊缨;姚玲;张容湛 | ||
| 所属领域: | |||||
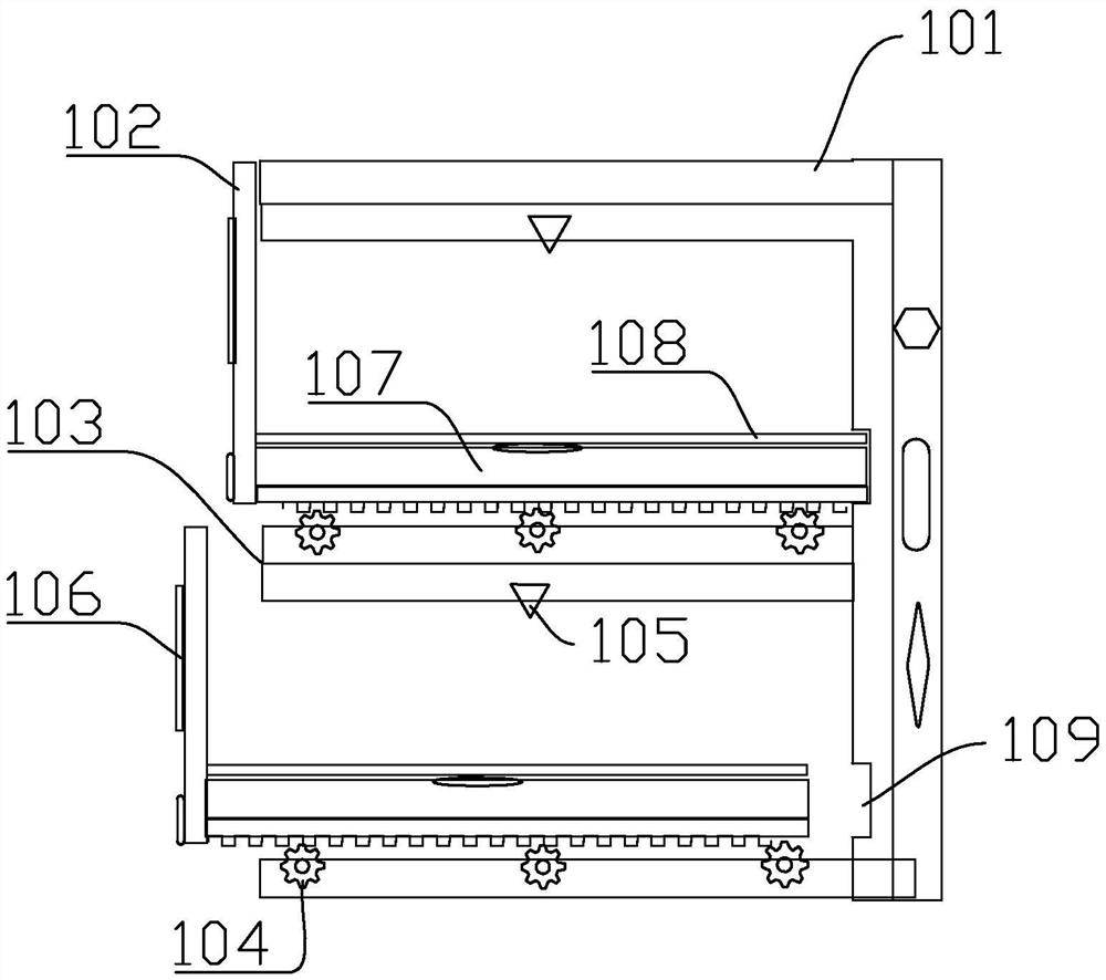
| 摘要: | 本实用新型公开了一种储存装置,储存装置包括支架和储存部,储存部上用于放置药品,支架设置有至少一个单元格,储存部可抽拉地设置在单元格中,储存部上设置有挡板,储存部放入单元格后挡板用于封住单元格的敞口,支架侧壁的外侧设置有保温结构,支架侧壁的内侧设置有缓冲层,缓冲层设置有用于吸冷的缓冲物质。设置缓冲层吸冷营造冷藏环境,设置保温结构以减少储存部外环境变换对储存部中冷藏温度的影响,本实用新型可广泛应用于医疗器械技术领域。 | ||||
| 补充信息 | |||||
| 转让方式: | 成熟度: | 预估价值: | |||
| 市场前景: | |||||