样品
成果详情
| 项目简介 | |||||
|---|---|---|---|---|---|
| 技术简介: | |||||
| 专利类型: | 实用新型 | 专利申请号: | CN201720841188.1 | 公开号: | CN208301932U |
| 专利权人: | 南方医科大学 | 发明设计人: | 李喆;张铄;吴新社;李桂香;陈军;历周;温锐 | ||
| 所属领域: | |||||
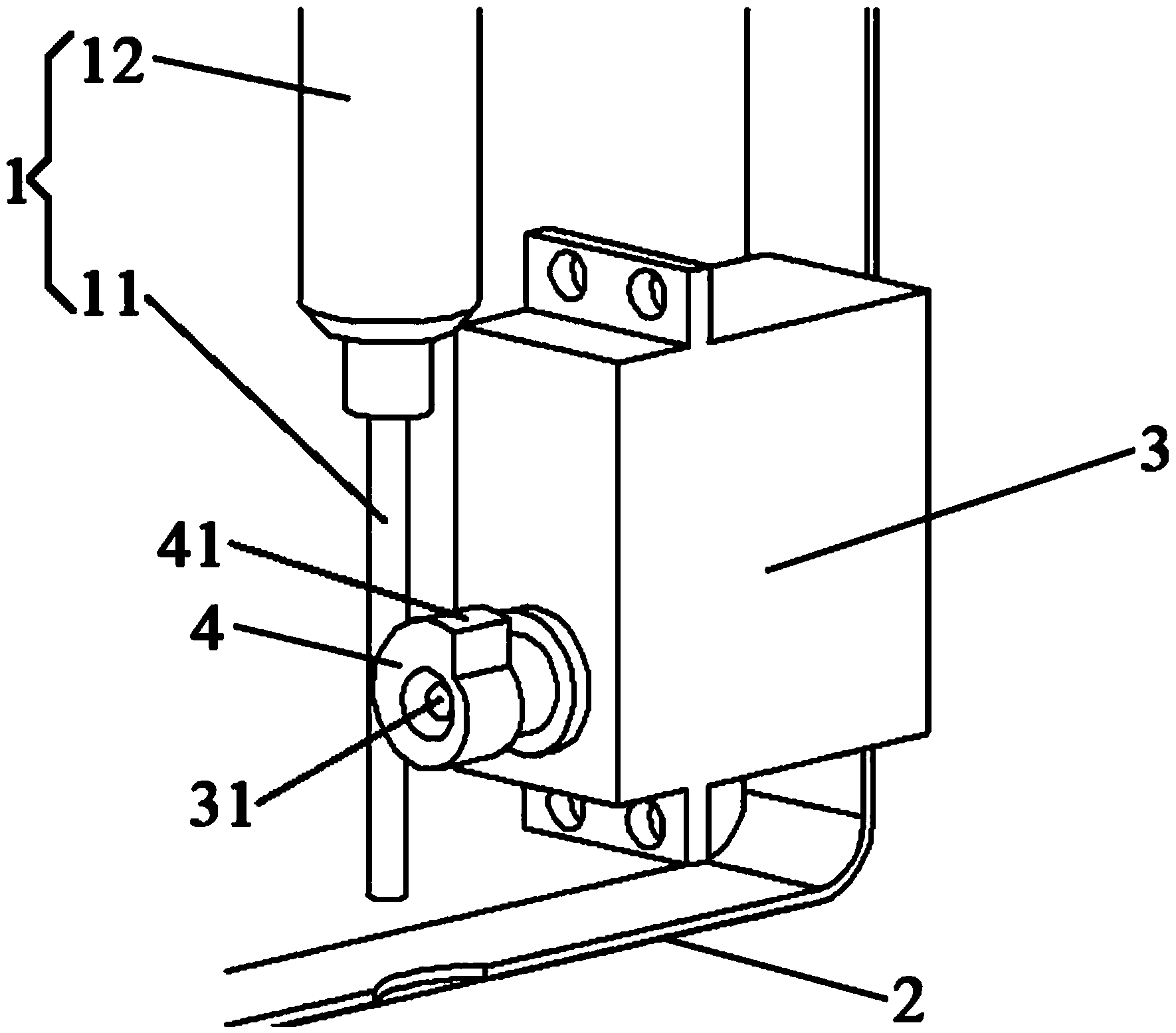
| 摘要: | 本实用新型公开了一种智能静脉输液器装置,应用于一次性输液器上,设有滴速控制机构;所述滴速控制机构设有壳体、伺服舵机和偏心轮,所述伺服舵机和所述一次性输液器的一段输液软管均固定在所述壳体上,所述偏心轮安装在所述伺服舵机的转轴上,且所述偏心轮的部分外周面作为工作面,该工作面的周向沿阿基米德螺线延伸,其中,所述阿基米德螺线垂直于所述伺服舵机的转轴轴线,所述阿基米德螺线的极点位于所述伺服舵机的转轴轴线上,并且,所述偏心轮的工作面与所述输液软管固定在壳体上的管段相紧贴。本实用新型能够大幅度提高对一次性输液器滴速控制的精度,可实现临床静脉输液速度的准确调控。 | ||||
| 补充信息 | |||||
| 转让方式: | 成熟度: | 预估价值: | |||
| 市场前景: | |||||