样品
成果详情
| 项目简介 | |||||
|---|---|---|---|---|---|
| 技术简介: | |||||
| 专利类型: | 实用新型 | 专利申请号: | CN202421800015.1 | 公开号: | CN223054808U |
| 专利权人: | 南方医科大学南方医院 | 发明设计人: | 李房妹;陈锦凤;陈美艳;彭露琪 | ||
| 所属领域: | |||||
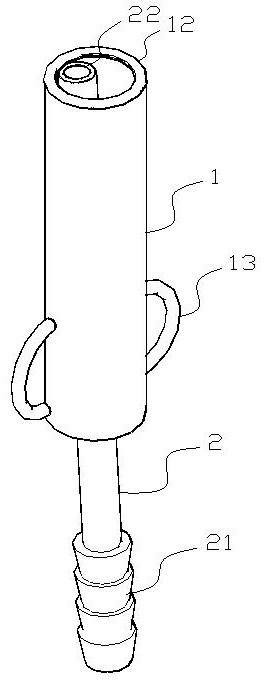
| 摘要: | 本实用新型涉及吸痰管领域,尤其涉及一种双层新型吸痰管,该吸痰管可解决以往吸痰管前端部插入时容易对患者气道内壁创伤,且抽吸时前端部直接与气道内壁挤触,容易出现抽吸性的损伤的问题。包括外侧的第一管体,所述第一管体前端面固定设有向内弯折的第一弧形弯折部;所述第一管体中插置有第二管体,第二管体前端面固定设有向内弯折的第二弧形弯折部;所述第一管体下端口固定粘接设有硅胶盖,硅胶盖中心位置设有与第二管体摩擦挤触配合的圆形通孔;所述第二管体前端部后侧阻尼套设有套环,套环一侧固定设有光滑的球体;所述第二管体后端部设有接头。它操作简单,使用方便,适用于多种患者。 | ||||
| 补充信息 | |||||
| 转让方式: | 成熟度: | 预估价值: | |||
| 市场前景: | |||||