样品
成果详情
| 项目简介 | |||||
|---|---|---|---|---|---|
| 技术简介: | |||||
| 专利类型: | 实用新型 | 专利申请号: | CN201921609777.2 | 公开号: | CN210990624U |
| 专利权人: | 南方医科大学南方医院 | 发明设计人: | 李冰;汤青云 | ||
| 所属领域: | |||||
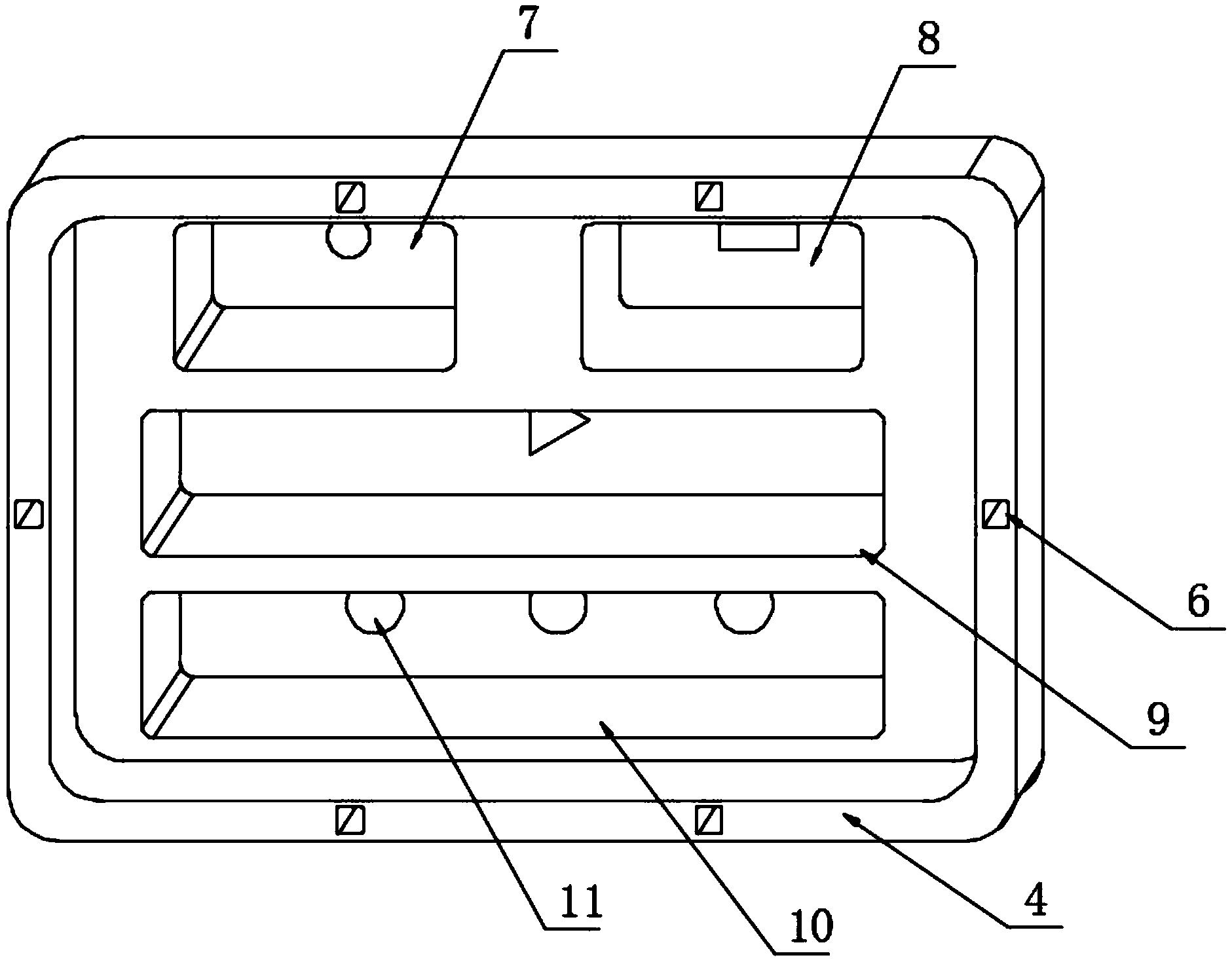
| 摘要: | 本实用新型公开了一种B超引导下深静脉穿刺包,涉及医疗器械技术领域,包括穿刺包本体,穿刺包本体内部设有盒体、治疗巾和磁石,盒体包括第一放置盘、第二放置盘、卡块、卡槽、无菌耦合剂放置槽、无菌探头保护套放置槽、无菌防水垫巾放置槽、无菌隔离衣放置槽和识别标记。本实用新型可实现第一放置盘与第二放置盘的快速组装分离,操作方便快捷,增加无菌防水垫巾、无菌耦合剂、无菌隔离衣和无菌探头保护套,可用于垫在患者身下,避免消毒液渗透至床单、枕头,使操作过程保持最大无菌范围,保持B超探头无菌,可防止患者活动中将治疗巾滑至床下,污染无菌环境,可在放置医用产品时进行辅助,避免放错位置,方便快捷。 | ||||
| 补充信息 | |||||
| 转让方式: | 成熟度: | 预估价值: | |||
| 市场前景: | |||||