样品
成果详情
| 项目简介 | |||||
|---|---|---|---|---|---|
| 技术简介: | |||||
| 专利类型: | 发明 | 专利申请号: | CN201911102144.7 | 公开号: | CN110833791A |
| 专利权人: | 南方医科大学深圳医院 | 发明设计人: | 张莉 | ||
| 所属领域: | |||||
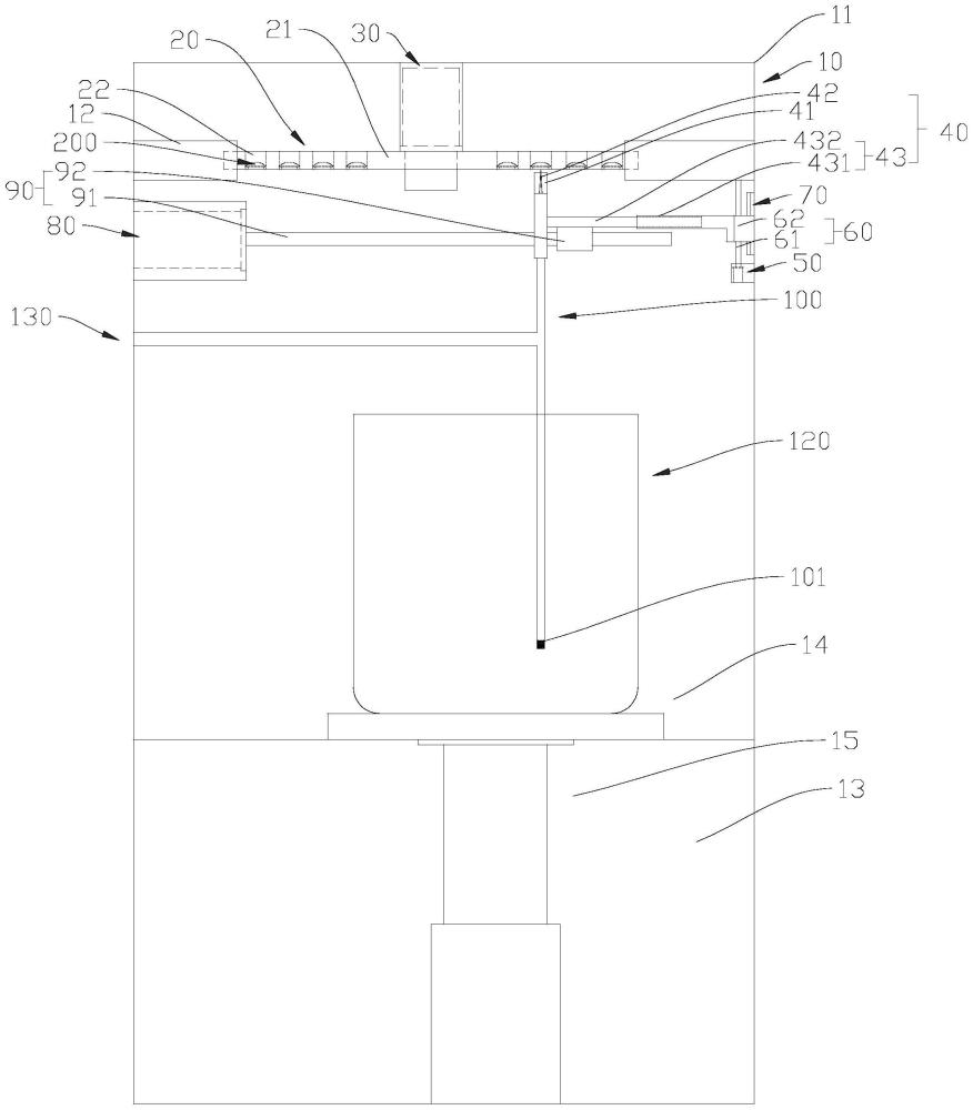
| 摘要: | 本发明涉及一种多酶清洗剂调配装置,包括机架、可转动设置在机架上供储存有清洗酶浓缩液的料袋放置的料盘、可往复运动地置在机架中以对放置于料盘上的料袋进行切割的切割组件、与切割组件连接以输出料袋中清洗酶浓缩液的下料管、可容置于机架中以收容配置好的清洗酶稀释液的接料装置、设置在机架中与接料装置连通的进水管;料盘上设有供料袋放置的多个工位;工位与料袋一一对应设置;切割组件与料盘相对设置,以通过朝工位方向往复运动切割料袋;下料管与切割组件和接料装置连通。该多酶清洗剂调配装置可实现自动调配清洗酶稀释液,进而可提高清洗酶稀释液的调配效率,并且可减少人工误差,提高调配精度。 | ||||
| 补充信息 | |||||
| 转让方式: | 成熟度: | 预估价值: | |||
| 市场前景: | |||||