样品
成果详情
| 项目简介 | |||||
|---|---|---|---|---|---|
| 技术简介: | |||||
| 专利类型: | 实用新型 | 专利申请号: | CN202323513618.1 | 公开号: | CN221731869U |
| 专利权人: | 南方医科大学南方医院 | 发明设计人: | 严绿婷;赵强;徐倩 | ||
| 所属领域: | |||||
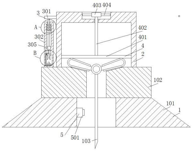
| 摘要: | 本实用新型公开了医疗用品技术领域的一种输液港拔针防针刺伤用辅助用具,包括辅助组件,包括底座,且所述底座的表面中间位置处开设有第一通孔,所述第一通孔的内腔左侧设有照明组件;通过开口槽的设置,当医护人员将蝶翼针穿过第二通孔和第一通孔内腔,并穿刺后,可将蝶翼针两侧的蝶翼分别卡入进两个开口槽的内腔中,接着,通过防护罩、连接板、立柱、连接杆、方柱、限位环和弹簧的设置,可对蝶翼针进行封闭处理,从而有效避免误触到蝶翼针时造成蝶翼针的偏移,另外,通过转动若干个握杆可带动圆板旋转,圆板旋转带动螺纹杆旋转,并通过螺纹杆推动限位板向下移动,使得限位板与蝶翼针贴合,从而进一步将蝶翼针卡紧,提高蝶翼针穿刺的稳定性。 | ||||
| 补充信息 | |||||
| 转让方式: | 成熟度: | 预估价值: | |||
| 市场前景: | |||||