样品
成果详情
| 项目简介 | |||||
|---|---|---|---|---|---|
| 技术简介: | |||||
| 专利类型: | 实用新型 | 专利申请号: | CN202121487954.1 | 公开号: | CN216317734U |
| 专利权人: | 南方医科大学南方医院 | 发明设计人: | 苗勇;李越;胡轶鸣 | ||
| 所属领域: | |||||
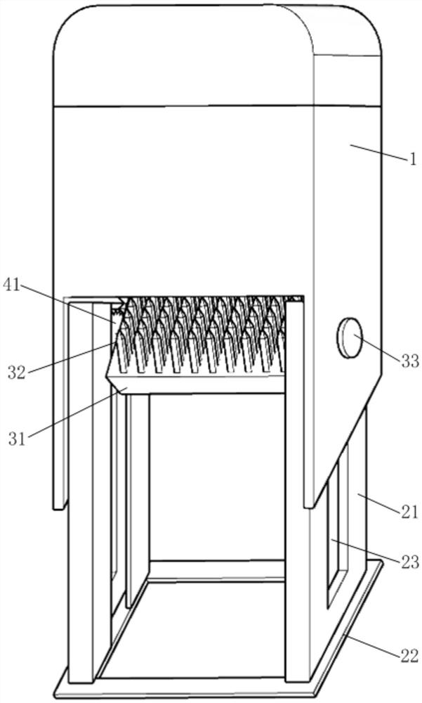
| 摘要: | 本实用新型公开一种印章式多头植发打孔器,包括:壳体,其下端开口;支撑架,位于壳体内,支撑架包括两个分别邻近壳体的相对的两个侧壁内侧的支撑板和固定于支撑板下端的环形底座,支撑板上开设有一沿竖直方向延伸的长孔;打孔针,包括针座、安装于针座上的若干针头以及与针座固定连接的固定轴,固定轴的两端分别穿过长孔延伸至壳体外;传动机构,位于壳体内,固定轴通过传动机构与壳体连接;回弹机构,其上端与壳体顶部连接,下端与支撑板的上端连接;对壳体施加下压力时,针头可穿过底座;消除下压力时,打孔针可回弹。本实用新型的印章式多头植发打孔器,所打出来的植发孔符合头皮发际线区域毛发的自然生长角度,并能实现多头打孔。 | ||||
| 补充信息 | |||||
| 转让方式: | 成熟度: | 预估价值: | |||
| 市场前景: | |||||