样品
成果详情
| 项目简介 | |||||
|---|---|---|---|---|---|
| 技术简介: | |||||
| 专利类型: | 实用新型 | 专利申请号: | CN202120260579.0 | 公开号: | CN214357223U |
| 专利权人: | 南方医科大学南方医院 | 发明设计人: | 王凤娥;梁洁;杨俊明;王玉享;陈美华 | ||
| 所属领域: | |||||
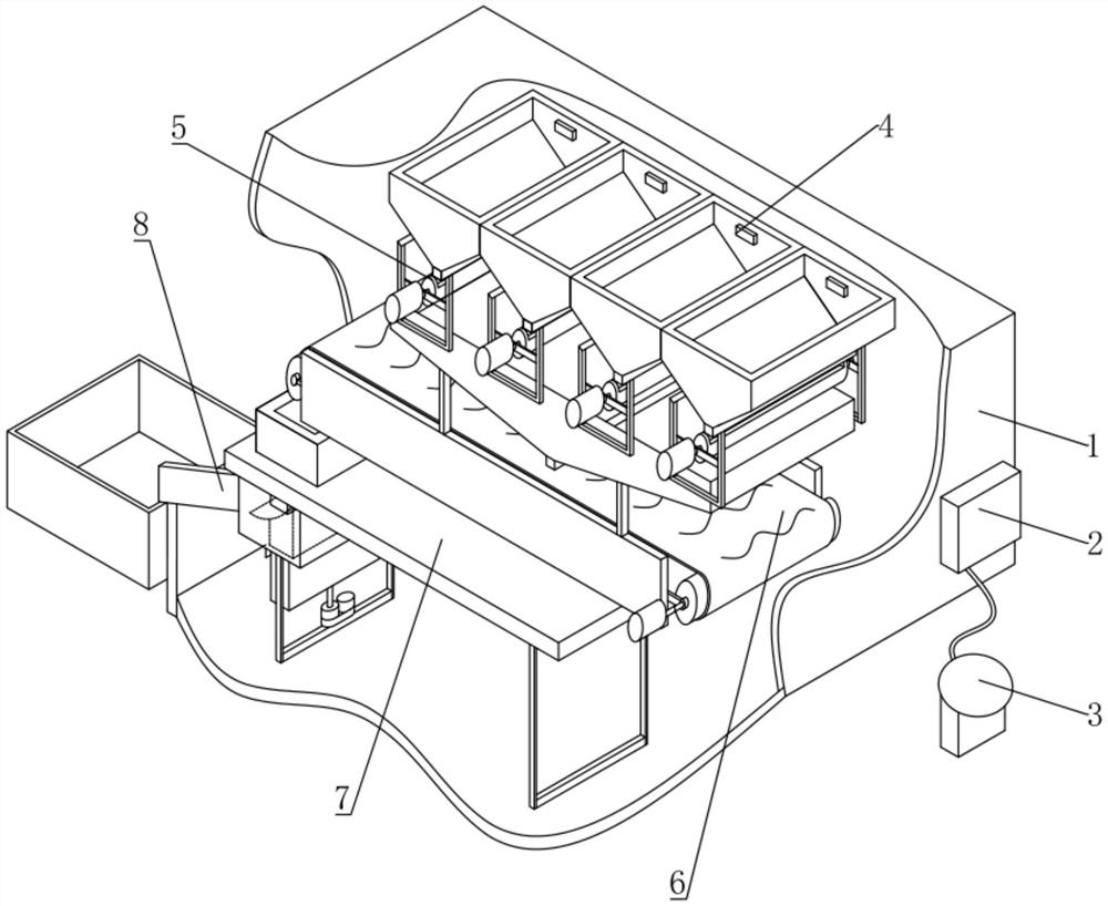
| 摘要: | 本实用新型公开了一种采血用贴标结构,包括壳体、设在壳体上的控制器以及与控制器连接的扫码识别器;在壳体的内部上端设有储管单元,在储管单元的下方设有与该储管单元相配合控制采血管降落的落管控制单元,在落管控制单元的下方设有用于接收以及传输该落管控制单元输送的采血管的采血管传输单元,在采血管传输单元的下方设有用于接收该采血管传输单元输送的采血管并且对接收的采血管进行贴标签的采血管贴标单元;还在壳体上设有一与采血管贴标单元相配合将采血管输送至壳体外部的采血管出管单元。本实用新型具有能够替代人工自动进行选管、自动贴标签的优点,解决了人工选管时工作量大且操作繁琐以及存在错用采血管、错贴标签的问题。 | ||||
| 补充信息 | |||||
| 转让方式: | 成熟度: | 预估价值: | |||
| 市场前景: | |||||