样品
成果详情
| 项目简介 | |||||
|---|---|---|---|---|---|
| 技术简介: | |||||
| 专利类型: | 实用新型 | 专利申请号: | CN201820418132.X | 公开号: | CN209092334U |
| 专利权人: | 南方医科大学南方医院 | 发明设计人: | 钟晓红;龚妮容;邱胜;卢颜;唐丹;彭乔伊 | ||
| 所属领域: | |||||
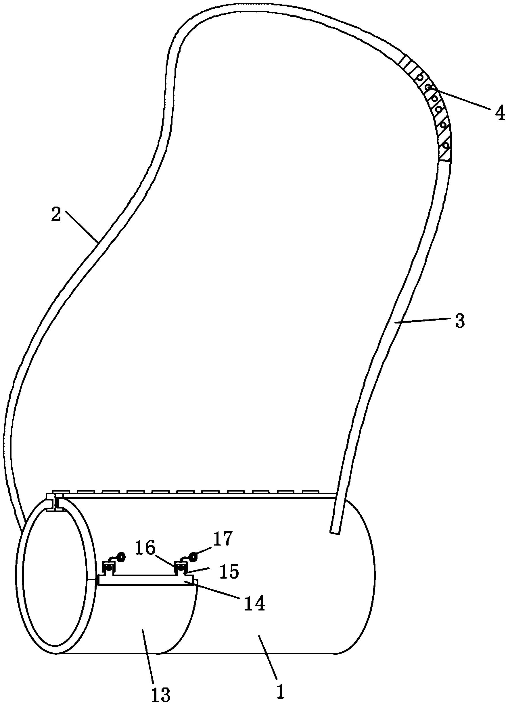
| 摘要: | 本实用新型公开了一种血液透析动静脉内瘘网状保护罩,包括保护罩本体,第一肩带表面在纤维毛层处均匀开设有多组插孔,第二肩带末端侧表面在刺毛层处固定安装有限位柱,第二限位板上表面对应于L型板位置均固定安装有卡扣板,窗口外侧表面上端固定安装有横板,固定板外侧表面中部均固定设置有一体结构的凸出柱。本实用新型佩戴保护罩本体的时候,患者手臂不需要发生移动,提高了患者佩戴保护罩的舒适性,也能够很好的通过患者肘关节高度及手的位置高低来调整第一肩带和第二肩带的长度,提高了保护罩的适用性,同时能够避免保护罩变形挤压伤口造成患者伤口受到污染和疼痛情况。 | ||||
| 补充信息 | |||||
| 转让方式: | 成熟度: | 预估价值: | |||
| 市场前景: | |||||