样品
成果详情
| 项目简介 | |||||
|---|---|---|---|---|---|
| 技术简介: | |||||
| 专利类型: | 实用新型 | 专利申请号: | CN202322034690.X | 公开号: | CN220512873U |
| 专利权人: | 南方医科大学珠江医院 | 发明设计人: | 丁为民 | ||
| 所属领域: | |||||
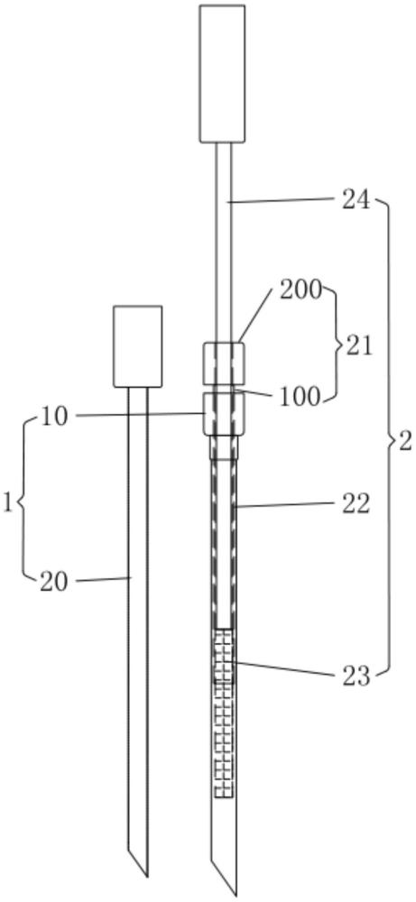
| 摘要: | 本实用新型公开了一种同轴针穿刺后止血装置,包括与外部的由穿刺针套管和穿刺针针芯构成的穿刺针相适配的止血结构;所述止血结构包括一端能够伸入所述穿刺针套管的套筒内的引导套筒,在所述引导套筒内开设有一贯穿该引导套筒的顶部以及底部的贯穿通道,在所述贯穿通道内预填设有一在工作时通过所述穿刺针针芯推动至穿刺活检的出血点部位以实现对出血点的止血的止血绵。本实用新型具有能够实现对穿刺活检出血点的止血以提高止血效果以及降低穿刺活检的出血量和降低针道转移几率的优点。 | ||||
| 补充信息 | |||||
| 转让方式: | 成熟度: | 预估价值: | |||
| 市场前景: | |||||