样品
成果详情
| 项目简介 | |||||
|---|---|---|---|---|---|
| 技术简介: | |||||
| 专利类型: | 发明 | 专利申请号: | CN202510296076.1 | 公开号: | CN119791932A | 
| 专利权人: | 南方医科大学南方医院 | 发明设计人: | 殷海霞;李大鹏;高娟 | ||
| 所属领域: | |||||
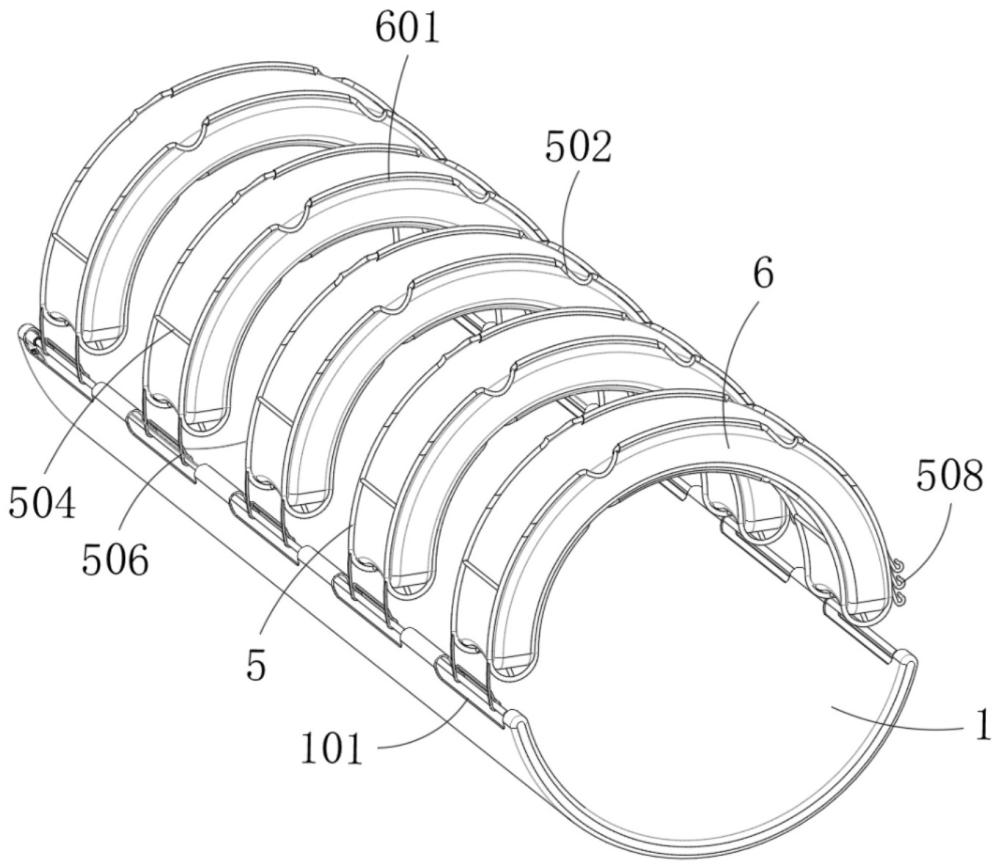
| 摘要: | 本发明提供一种四肢骨折的固定装置,属于骨折固定技术领域。包括外壳,所述外壳内插接有长杆,所述长杆的两端均螺接有T型连接块,所述T型连接块的两侧均安装有短杆,所述短杆的两端均螺接有螺纹套,所述短杆和所述T型连接块之间通过螺纹套转动连接,所述长杆内插接有伸缩杆;固定组件,所述固定组件用于对患者的骨折位置进行固定,所述固定组件与所述长杆相连接。本发明通过设置固定组件,与现有的固定方式相比不仅固定方式简单,而且稳定性好,固定组件还可以根据实际情况对患者的骨折位置进行压迫止血,而且压迫的力度以及压迫的位置都可以进行调节,使得本装置适用范围更广泛,实际运用价值更高。 | ||||
| 补充信息 | |||||
| 转让方式: | 成熟度: | 预估价值: | |||
| 市场前景: | |||||