样品
成果详情
| 项目简介 | |||||
|---|---|---|---|---|---|
| 技术简介: | |||||
| 专利类型: | 实用新型 | 专利申请号: | CN202022129082.3 | 公开号: | CN213406496U |
| 专利权人: | 南方医科大学南方医院 | 发明设计人: | 钟巧巧;廖卫华 | ||
| 所属领域: | |||||
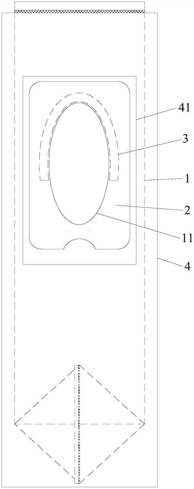
| 摘要: | 本实用新型公开了一种新型水胶体敷料避光尿袋,包括尿袋,尿袋的前侧开设有尿液采集孔,尿袋的前侧外表面在尿液采集孔的周围粘贴有一层粘贴层,尿袋前侧内表面在尿液采集孔的周围粘贴有一层棉垫,所述粘贴层为水胶体敷料,所述尿袋的外围套有遮光套,遮光套的上端与尿袋的上端相连,遮光套的下端为自由端,遮光套在对应尿液采集孔处开有可使粘贴层裸露的开孔。本实用新型的新型水胶体敷料避光尿袋不仅能进行遮光,增加光疗面积,提高光疗效果,而且还不会对有皮肤性疾病(剥脱性皮炎、大疱性表皮松解症等)患儿造成二次损伤。 | ||||
| 补充信息 | |||||
| 转让方式: | 成熟度: | 预估价值: | |||
| 市场前景: | |||||