样品
成果详情
| 项目简介 | |||||
|---|---|---|---|---|---|
| 技术简介: | |||||
| 专利类型: | 实用新型 | 专利申请号: | CN202020882289.5 | 公开号: | CN213250508U |
| 专利权人: | 南方医科大学深圳医院 | 发明设计人: | 叶倩 | ||
| 所属领域: | |||||
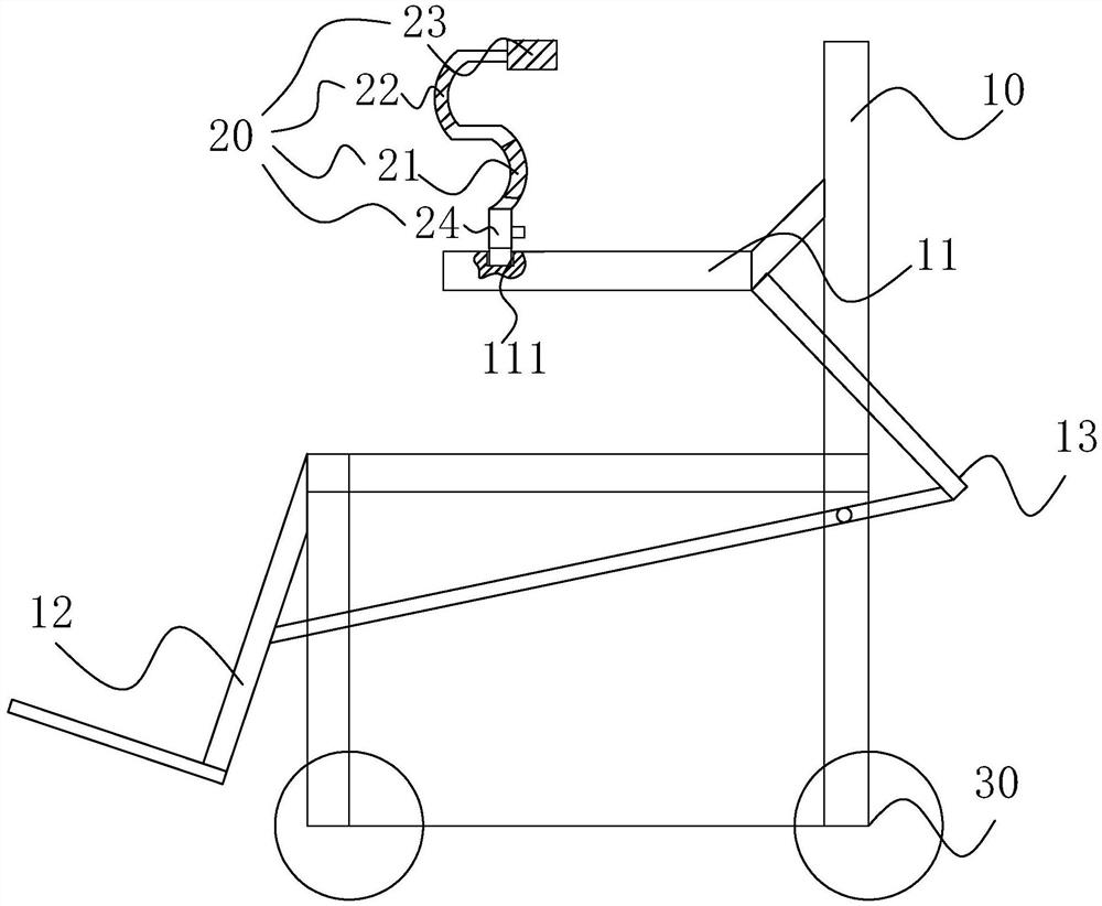
| 摘要: | 本实用新型公开了一种偏瘫患者的轮椅,包括座椅,底部设有行走结构;脚架,设置在座椅上;扶手架,设置在座椅上,扶手架上设有安装位;握柄,设置在安装位上,握柄包括第一折弯部、第二折弯部和握持部,第一折弯部、第二折弯部和握持部依次相连,第一折弯部和第二折弯部的弯曲方向相反;此偏瘫患者的轮椅通过在传统轮椅的基础上增加第一折弯部、第二折弯部和握持部的特殊设置,使得患者可以以此为基础做不同的上肢锻炼动作,既可以防止下垂,又可以保护皮肤,还可以起到按摩作用,防止肩关节脱位,避免引起手腕、手掌肿胀,还可以促进患者良肢体位摆放。 | ||||
| 补充信息 | |||||
| 转让方式: | 成熟度: | 预估价值: | |||
| 市场前景: | |||||