样品
成果详情
| 项目简介 | |||||
|---|---|---|---|---|---|
| 技术简介: | |||||
| 专利类型: | 实用新型 | 专利申请号: | CN202420981678.1 | 公开号: | CN222549827U |
| 专利权人: | 南方医科大学珠江医院 | 发明设计人: | 沈琼;邹丹丹;朱红芹 | ||
| 所属领域: | |||||
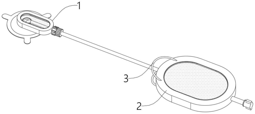
| 摘要: | 本实用新型涉及灌肠收集袋技术领域,具体为一种大量不保留灌肠用收集袋,包括用于贴合患者的敷贴袋,敷贴袋内部设有导管,导管右端设有用于存储排泄物的引流袋,敷贴袋下表面靠近左侧处设有开口,并在开口处设有接引斗,接引斗底部设有粘胶圈,且导管外壁上靠近右端处设有螺纹柱,引流袋左端设有与导管右端插接配合的引流管;该大量不保留灌肠用收集袋,通过设置带有导管的敷贴袋,导管穿过接引斗与患者肛门插接配合,接引斗增加与患者皮肤贴合的紧密性,并在粘胶圈的的配合下增加与皮肤粘接稳定性,引流袋通过引流管与导管插接配合,并在螺帽与螺纹柱螺纹连接下,增加安装的稳定性,便于快速进行引流袋与敷贴袋组合安装。 | ||||
| 补充信息 | |||||
| 转让方式: | 成熟度: | 预估价值: | |||
| 市场前景: | |||||