样品
成果详情
| 项目简介 | |||||
|---|---|---|---|---|---|
| 技术简介: | |||||
| 专利类型: | 实用新型 | 专利申请号: | CN201821152092.5 | 公开号: | CN208647626U |
| 专利权人: | 南方医科大学南方医院 | 发明设计人: | 郭萍;黄榕;黄少慧;陈宝梅;徐丽 | ||
| 所属领域: | |||||
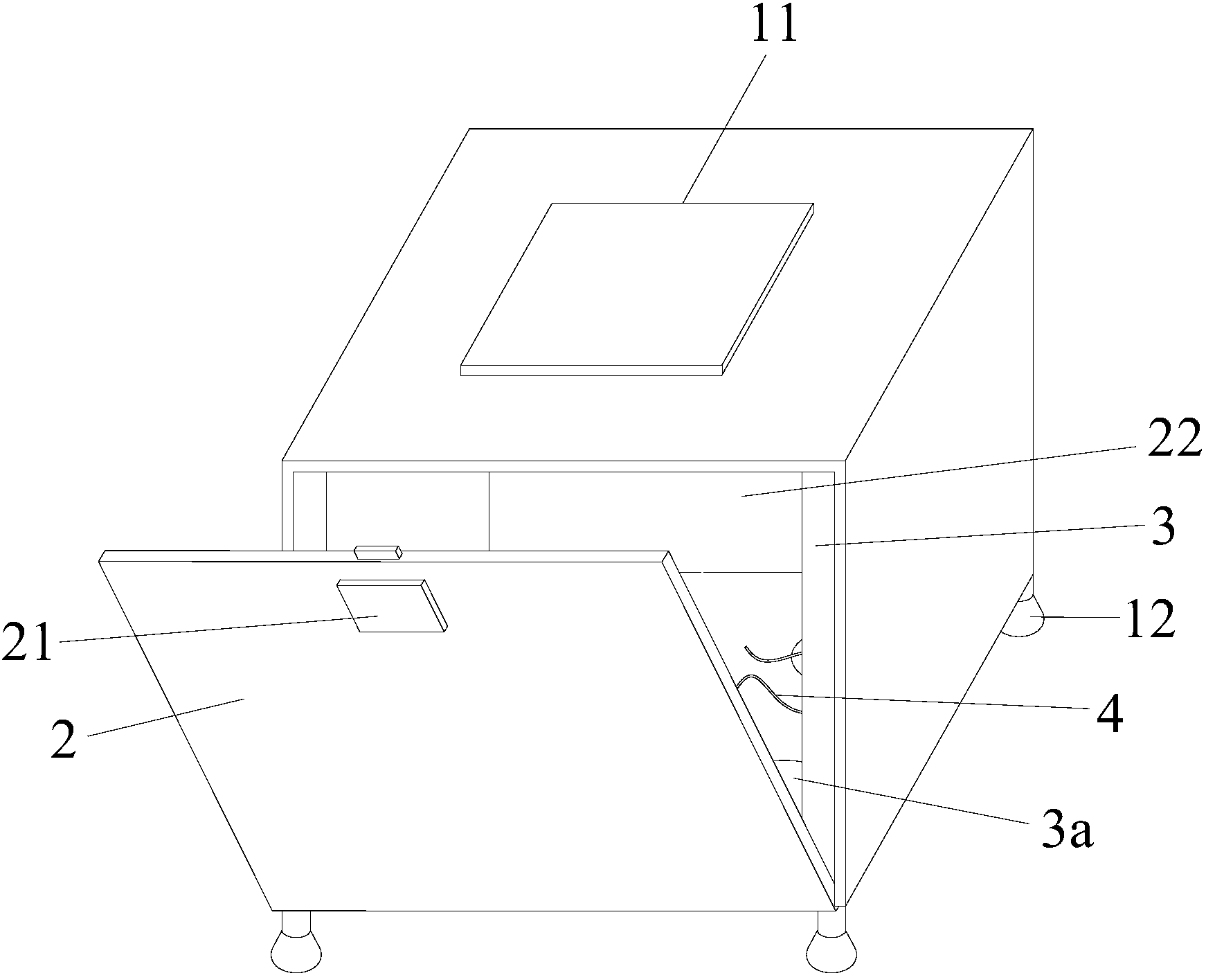
| 摘要: | 本实用新型公开了一种存放开启后胰岛素的避光盒,包括方形的盒体,盒体的前侧敞口并且前侧敞口处设有可打开的盒盖,盒盖与盒体均采用棕色遮光材料制成,盒体内的左右侧壁、底壁和后壁均固定有一层海绵,盒体内左右侧壁和后壁上均分别固定有至少一对贯穿相应海绵的弹性夹片,每一对的两个弹性夹片之间是胰岛素瓶夹持空间,盒体内底壁上的海绵上表面凹设有与各对弹性夹片对应的凹槽。本实用新型的存放开启后胰岛素的避光盒可为用药节省时间,提高护士工作效率,能够对胰岛素进行有效的保护。 | ||||
| 补充信息 | |||||
| 转让方式: | 成熟度: | 预估价值: | |||
| 市场前景: | |||||