样品
成果详情
| 项目简介 | |||||
|---|---|---|---|---|---|
| 技术简介: | |||||
| 专利类型: | 实用新型 | 专利申请号: | CN202020842233.7 | 公开号: | CN213252464U |
| 专利权人: | 南方医科大学南方医院 | 发明设计人: | 邹莹莹;黄龙斌;黄颖;张晓梅;曹猛 | ||
| 所属领域: | |||||
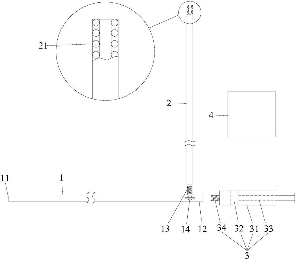
| 摘要: | 本实用新型公开了一种粪菌移植装置,包括注射器,还包括长度与内镜相适应的经内镜活检孔道进入到肠腔内的第一管体,所述第一管体的远端为粪菌出口端,第一管体的近端有与注射器螺纹连接的第一连接端,第一连接端与第一管体同轴,第一管体的近端还有与第一管体和第一连接端垂直的第二连接端,第一连接端和第二连接端垂直相接的位置有可选择让第一连接端与第一管体连通或者让第一连接端与第二连接端连通的开关,第二连接端螺纹连接有末端置于粪菌容器内抽吸的第二管体。本实用新型的粪菌移植装置不会污染内镜的活检孔道,而且使用更为方便。 | ||||
| 补充信息 | |||||
| 转让方式: | 成熟度: | 预估价值: | |||
| 市场前景: | |||||