样品
成果详情
| 项目简介 | |||||
|---|---|---|---|---|---|
| 技术简介: | |||||
| 专利类型: | 实用新型 | 专利申请号: | CN202020700832.5 | 公开号: | CN212730245U |
| 专利权人: | 南方医科大学南方医院 | 发明设计人: | 贾梦丽;廖卫华;孙杏娣 | ||
| 所属领域: | |||||
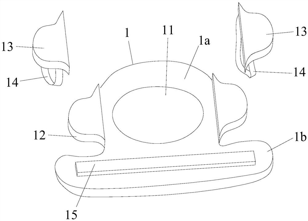
| 摘要: | 本实用新型公开了早产儿头正中位固定枕,包括由记忆棉材质制成的固定枕主体,所述固定枕主体的顶面中部凹陷形成头部固定凹槽,固定枕主体的顶面在头部固定凹槽的前侧朝上凸起形成一垫肩,固定枕主体在头部固定凹槽的左右两侧分别延伸形成一耳部,耳部的顶面高于固定枕主体的顶面,各耳部的顶面可拆卸固定有与耳部大小相适应的增高部。本实用新型的早产儿头正中位固定枕操作简便,降低了护士的工作量,避免了成本了浪费,能根据早产儿体重大小进行调节,使用无局限。 | ||||
| 补充信息 | |||||
| 转让方式: | 成熟度: | 预估价值: | |||
| 市场前景: | |||||