样品
成果详情
| 项目简介 | |||||
|---|---|---|---|---|---|
| 技术简介: | |||||
| 专利类型: | 实用新型 | 专利申请号: | CN202323163501.5 | 公开号: | CN221904794U |
| 专利权人: | 南方医科大学南方医院 | 发明设计人: | 范子博;黄金燕;范磊;杨钦烽;姜妤;丁红 | ||
| 所属领域: | |||||
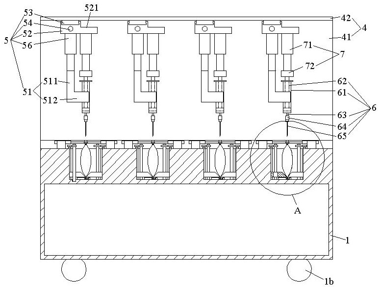
| 摘要: | 本实用新型公开了一种自动抽药装置,包括主体,所述主体的顶面凹陷有呈一排布置的多个盐水袋容纳槽和呈一排布置的多个注射剂瓶容纳槽,各盐水袋容纳槽处有能使盐水袋保持直立状态的固定装置以及可将盐水袋的盐水往上挤压的挤压装置,主体的顶部有立式的安装架,安装架上安装有呈一排布置的多个注射器固定装置,多个盐水袋容纳槽和多个注射剂瓶容纳槽和多个注射器固定装置一一对应,各注射器固定装置处固定有一注射器和用于推拉注射器的活塞杆的推拉装置。本实用新型的自动抽药装置能使药袋稳固直立放置,利于药液抽吸的顺利进行,还能一次性进行批量抽药配药,效率高。 | ||||
| 补充信息 | |||||
| 转让方式: | 成熟度: | 预估价值: | |||
| 市场前景: | |||||