样品
成果详情
| 项目简介 | |||||
|---|---|---|---|---|---|
| 技术简介: | |||||
| 专利类型: | 实用新型 | 专利申请号: | CN202320673538.3 | 公开号: | CN220142030U |
| 专利权人: | 南方医科大学南方医院 | 发明设计人: | 项平 | ||
| 所属领域: | |||||
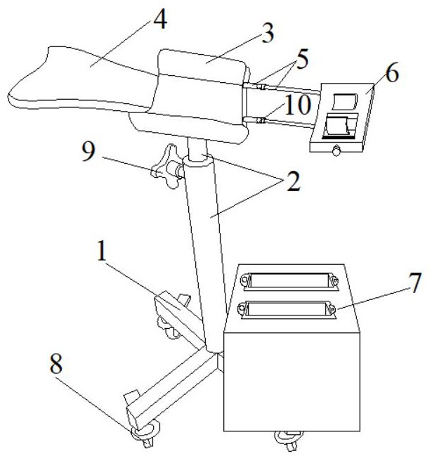
| 摘要: | 本实用新型公开了一种适用于骨科外固定术后换药抬腿器,涉及到骨科护理设备技术领域,包括底座、伸缩支架和第一膝关节处抬高垫,所述底座的顶端固定安装有伸缩支架,所述伸缩支架的顶端固定安装有第一膝关节处抬高垫,所述第一膝关节处抬高垫的一端固定安装有大腿部分支撑架,所述第一膝关节处抬高垫的相对的一端固定安装有伸缩杆,所述伸缩杆的末端固定连接有第二足踝部固定板。本实用新型通过增设大腿部分支撑架对大腿部进行支撑,通过第二足踝部固定板对足踝部进行固定,增加患者舒适度。 | ||||
| 补充信息 | |||||
| 转让方式: | 成熟度: | 预估价值: | |||
| 市场前景: | |||||