样品
成果详情
| 项目简介 | |||||
|---|---|---|---|---|---|
| 技术简介: | |||||
| 专利类型: | 实用新型 | 专利申请号: | CN202320183781.7 | 公开号: | CN219480747U |
| 专利权人: | 南方医科大学珠江医院 | 发明设计人: | 曾建云;王晓阳;陈燕英;唐玲玉 | ||
| 所属领域: | |||||
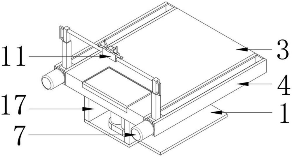
| 摘要: | 本实用新型公开了一种可调节腿部的手术床,包括底板,所述底板的顶部固定安装有底柱,所述底柱的顶部固定安装有病床,所述病床的两侧固定安装有固定盒,所述固定盒的内部转动安装有螺纹杆,所述螺纹杆外部的一端螺纹套设有滑块,所述滑块和固定盒的内部滑动连接,所述滑块的顶部固定安装有支架,所述支架的内部滑动安装有升降杆,所述升降杆的一侧转动安装有支撑杆,所述支撑杆外部的中间转动安装有转动板,所述转动板的顶部固定安装有脚垫。本实用新型,通过滑块在固定盒的内部滑动,可以方便调整脚垫的位置,通过升降杆的设置,可以方便患者腿部放在脚垫上的高度,避免患者腿部悬空,或者高度不合适导致患者腿部不舒服。 | ||||
| 补充信息 | |||||
| 转让方式: | 成熟度: | 预估价值: | |||
| 市场前景: | |||||