样品
成果详情
| 项目简介 | |||||
|---|---|---|---|---|---|
| 技术简介: | |||||
| 专利类型: | 实用新型 | 专利申请号: | CN202121660069.9 | 公开号: | CN215779708U |
| 专利权人: | 南方医科大学珠江医院 | 发明设计人: | 吴文;李荣东;邹积华;范宗禄;邱乾;谢佳美;周亭锐 | ||
| 所属领域: | |||||
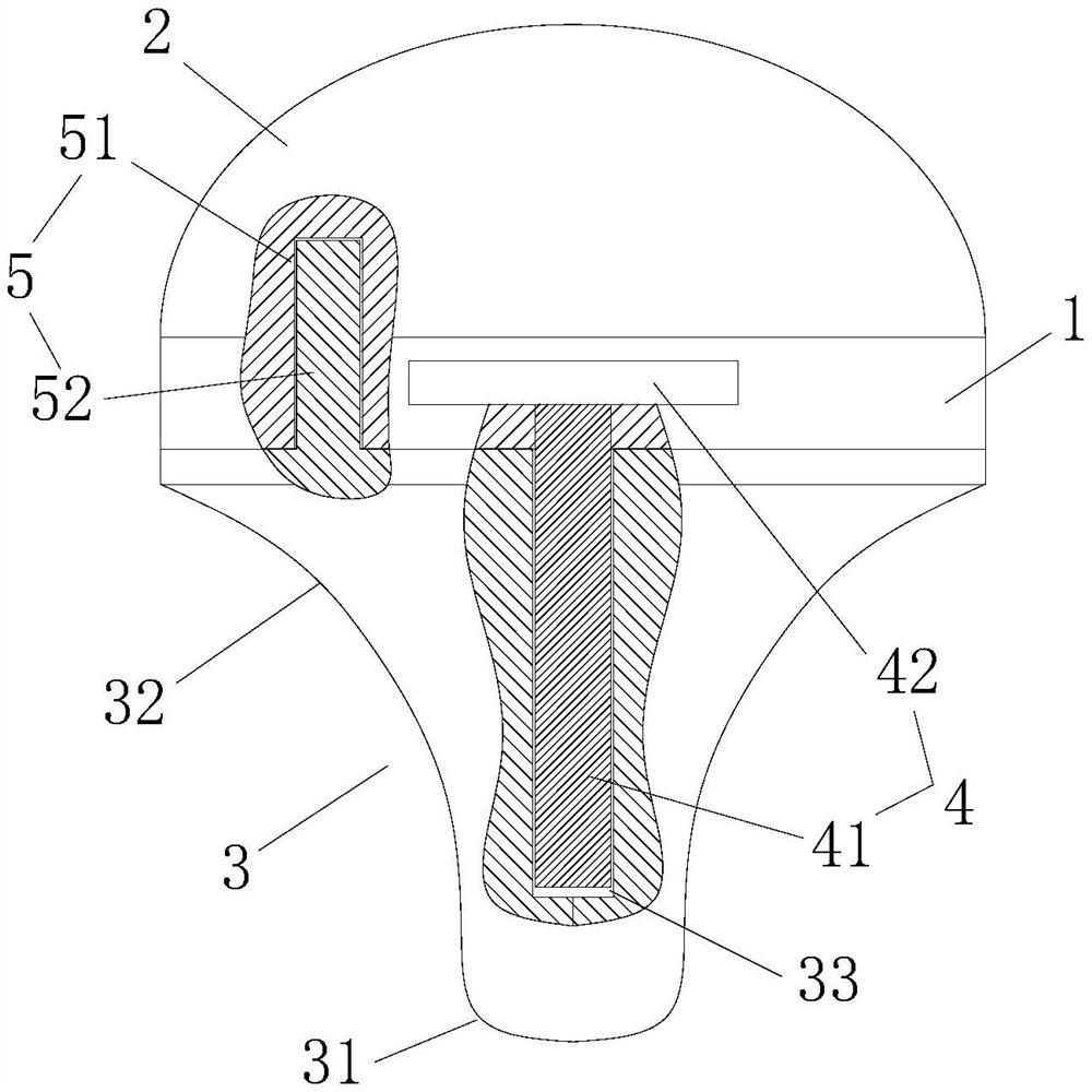
| 摘要: | 本实用新型公开了一种胸廓松动器,其包括基座,所述基座的一侧设有手持部,另一侧设有接头,所述接头设有圆头部和斜面部,所述圆头部和所述斜面部之间通过圆弧过渡。使用时,操作者能够手持胸廓松动器,利用接头上的圆头部对肋间肌实施牵伸、放松和筋膜松解,利用接头上的斜面部的斜坡对肋骨实施控制,从而进行肋骨松动;肋头关节、肋横关节和胸肋关节疼痛和活动受限皆可通过操作该胸廓松动器轻而易举地实施关节松动、软组织松解,达到缓解疼痛、增加关节和胸廓活动度,改善呼吸等目的;填补了针对肋头关节、肋横关节和胸肋关节等胸廓疼痛、活动受限等问题的手法辅助医疗器械空白,具有结构简单、使用方便、省力轻松、可靠实用的优点。 | ||||
| 补充信息 | |||||
| 转让方式: | 成熟度: | 预估价值: | |||
| 市场前景: | |||||