样品
成果详情
| 项目简介 | |||||
|---|---|---|---|---|---|
| 技术简介: | |||||
| 专利类型: | 实用新型 | 专利申请号: | CN202121673777.6 | 公开号: | CN215265312U |
| 专利权人: | 南方医科大学珠江医院 | 发明设计人: | 董小花;魏娟 | ||
| 所属领域: | |||||
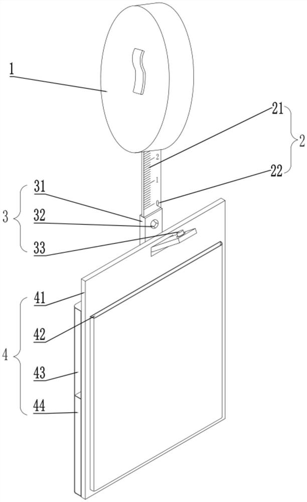
| 摘要: | 本实用新型公开了一种用于医院工作牌的易拉尺扣,包括带有固定夹的易拉扣且该易拉扣的内部拉绳为宽带拉绳;在所述易拉扣的内部拉绳上设有刻度标识,在所述易拉扣的内部拉绳上伸出所述易拉扣外部的一端通过一连接件连接有一能够收纳信息卡以及适量轻便型护理工具的卡套;所述卡套包括可拆卸套设在所述连接件上的卡套本体,在所述卡套本体的正面设有一能够收纳并显示医护人员身份信息卡的第一容纳腔,在所述卡套本体的背面分别设有一能够收纳微型电子表以及痛尺的第二容纳腔和第三容纳腔。本实用新型具有携带方便、在满足收纳医护人员身份信息卡的同时还能够分类收纳适量轻便型护理工具的优点。 | ||||
| 补充信息 | |||||
| 转让方式: | 成熟度: | 预估价值: | |||
| 市场前景: | |||||