样品
成果详情
| 项目简介 | |||||
|---|---|---|---|---|---|
| 技术简介: | |||||
| 专利类型: | 实用新型 | 专利申请号: | CN202421206209.9 | 公开号: | CN222623062U |
| 专利权人: | 南方医科大学南方医院 | 发明设计人: | 万军庭;姚志文;王坤远 | ||
| 所属领域: | |||||
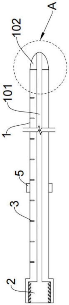
| 摘要: | 本实用新型涉及医疗器械技术领域,公开了一种微波消融用注液组织分离针,穿设于病灶区与周围组织之间的间隙处,微波消融用注液组织分离针包括:针体,内部开设有贯穿其的通道,针体的针头外壁呈弧形(抛物线形),针头适于在超声引导下伸入间隙中,并利用杠杆作用撬开病灶区和周围组织;注水接头,设置于针体远离针头的一端,并与通道相连通,以适于向微波消融用注液组织分离针撬开的间隙注入液体,以形成稳定的液体隔离带。本实用新型提供的微波消融用注液组织分离针,使用针体在病灶区和周围组织之间撬开的间隙处注入液体以形成稳定的液体隔离带,从而防止消融针在病灶区处产生的热量灼伤临近的周围组织,并改善超声引导的操作视野。 | ||||
| 补充信息 | |||||
| 转让方式: | 成熟度: | 预估价值: | |||
| 市场前景: | |||||