样品
成果详情
| 项目简介 | |||||
|---|---|---|---|---|---|
| 技术简介: | |||||
| 专利类型: | 实用新型 | 专利申请号: | CN202120655022.7 | 公开号: | CN214970304U | 
| 专利权人: | 南方医科大学南方医院 | 发明设计人: | 杨云;周丹;王垚锌;刘苗;蔡丽丹 | ||
| 所属领域: | |||||
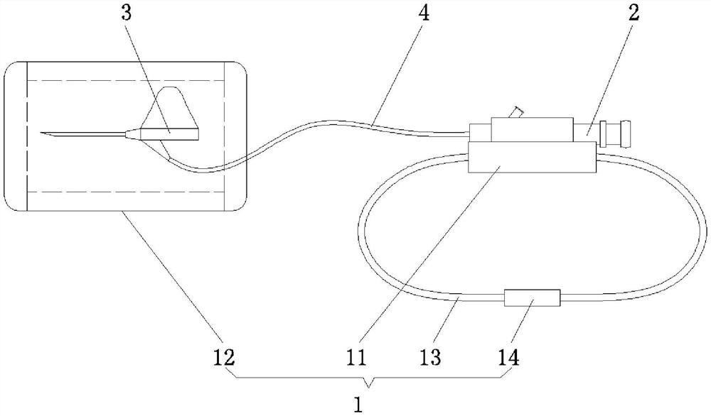
| 摘要: | 本实用新型公开了一种改良的留置针结构。一种改良的留置针结构,包括固定组件,在所述固定组件上装设有留置针接头,该留置针接头通过连接管与一针头连接在一起,所述固定组件包括能够固定所述留置针接头的固定件,以及,能够将所述针头固定在患者穿刺部位的固定贴,其中,在所述固定件的前后两端设有能够套设在患者手部的连接带,在所述连接带上设有调节扣。本实用新型一种改良的留置针结构,操作简单方便,固定效果好和能够提高患者的舒适感。 | ||||
| 补充信息 | |||||
| 转让方式: | 成熟度: | 预估价值: | |||
| 市场前景: | |||||