样品
成果详情
| 项目简介 | |||||
|---|---|---|---|---|---|
| 技术简介: | |||||
| 专利类型: | 实用新型 | 专利申请号: | CN201921422010.9 | 公开号: | CN211179548U |
| 专利权人: | 南方医科大学南方医院 | 发明设计人: | 王晓艳;周宏珍;彭俊祥;邓瑛瑛;刘瑶;李牧玲;胡瑞丹;朱敏芳;殷春梅;徐飞 | ||
| 所属领域: | |||||
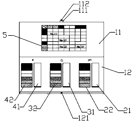
| 摘要: | 本实用新型涉及尿钠检测技术领域,公开了测定尿液中钠含量的试纸,包括基板,所述基板上包括pH检测区、氯离子检测区、钾离子检测区及钠离子比色区,所述pH检测区内设有pH试纸及pH比色卡,所述氯离子检测区内设有氯离子检测试纸及氯离子比色卡,所述钾离子检测区内设有钾离子检测试纸及钾离子比色卡,所述钠离子比色区内设有结合氯离子比色卡与钾离子比色卡的钠离子比色卡,通过钠离子比色卡能够得出尿液中钠离子含量;所述氯离子检测试纸上浸有硝酸铁,所述钾离子检测试纸为白色吸水纸;该试纸用于临床对患者尿液中钠离子含量的检测,适用于对于患者尿钠需要时时监测情况,操作方法简便、成本减低。 | ||||
| 补充信息 | |||||
| 转让方式: | 成熟度: | 预估价值: | |||
| 市场前景: | |||||