样品
成果详情
| 项目简介 | |||||
|---|---|---|---|---|---|
| 技术简介: | |||||
| 专利类型: | 实用新型 | 专利申请号: | CN202020588384.4 | 公开号: | CN212490639U |
| 专利权人: | 南方医科大学珠江医院 | 发明设计人: | 谭峰;周萍;何巧芳;桂媛媛;谭雪芬;邓月 | ||
| 所属领域: | |||||
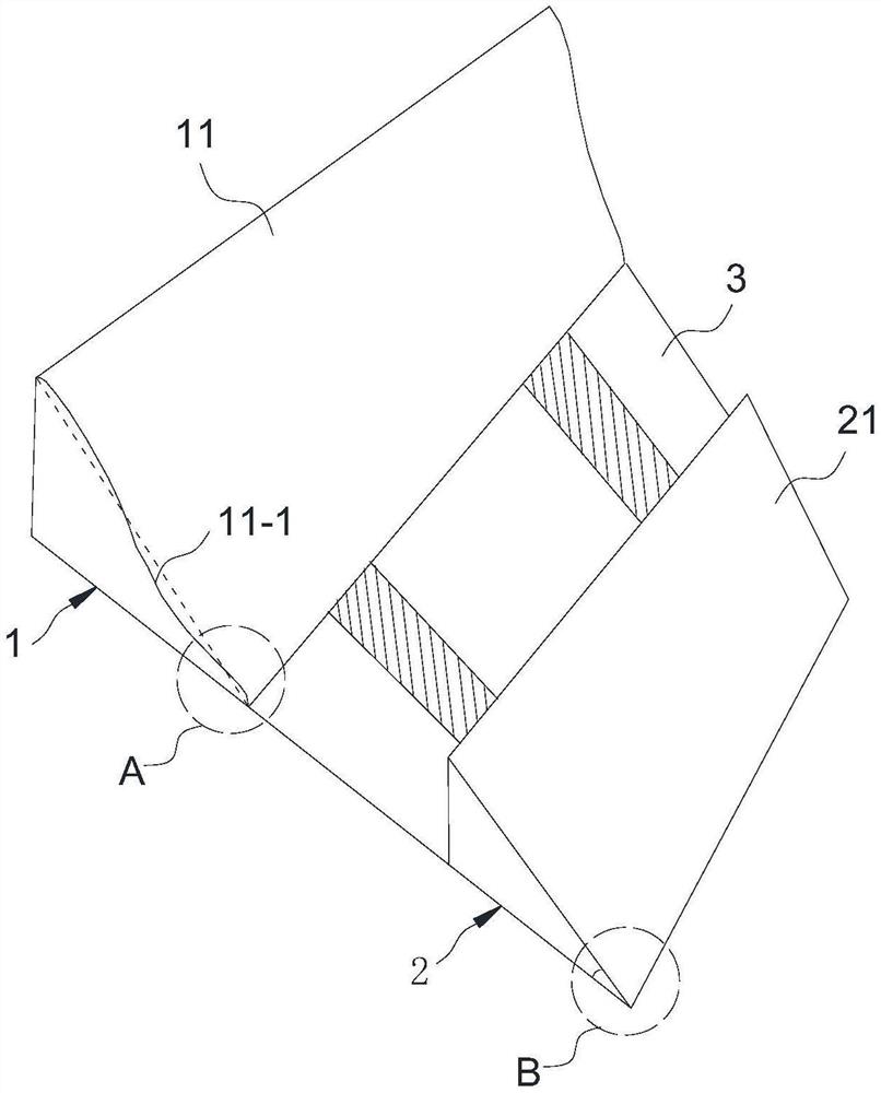
| 摘要: | 本实用新型公开了一种望月式体位垫,包括用于将患者患侧抬高的斜坡体位垫和用于防止患者向健侧移位的健侧固定垫;斜坡体位垫上设有带弧度的第一倾斜面,带弧度的第一倾斜面与人体躯干背部生理弯曲一致,第一倾斜面与水平面之间的夹角为15‑30°;健侧固定垫上设有第二倾斜面;健侧固定垫通过连接带与斜坡体位垫连接。本实用新型的望月式体位垫与患者身体的接触面更大,减轻了机体各着力点在体位变化后所承受的异常压力,降低了损伤皮肤、神经、肌肉的风险,更适合患者生理结构;同时,让医务人员体位摆放操作更加省力、便捷,大大减少手术体位的摆放时间及所需人数,加快手术进程。 | ||||
| 补充信息 | |||||
| 转让方式: | 成熟度: | 预估价值: | |||
| 市场前景: | |||||