样品
成果详情
| 项目简介 | |||||
|---|---|---|---|---|---|
| 技术简介: | |||||
| 专利类型: | 实用新型 | 专利申请号: | CN202223094403.6 | 公开号: | CN218941974U |
| 专利权人: | 南方医科大学 | 发明设计人: | 张敏;张琳;张璐;王雪儿;林玫芬 | ||
| 所属领域: | |||||
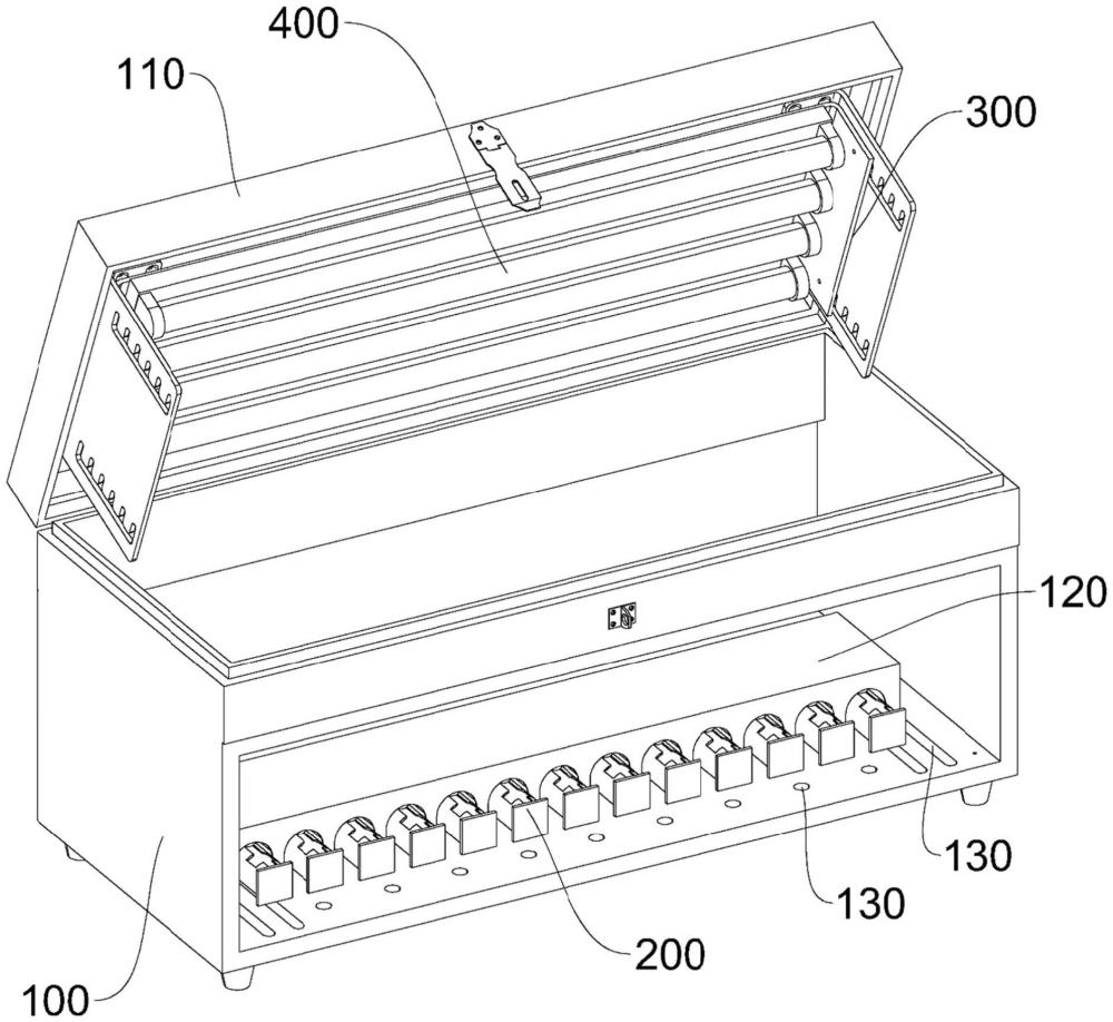
| 摘要: | 本实用新型公开了一种用于小鼠的光老化实验装置,涉及医学实验设备技术领域,包括实验箱,实验箱的上方开口,实验箱的开口处设有箱盖;多个固定装置,固定装置用于固定小鼠,固定装置间隔排列在实验箱的底部;距离调节装置,距离调节装置设置在箱盖朝向实验箱内部的一侧;紫外发生装置,紫外发生装置设置在距离调节装置上,以调整紫外发生装置与固定装置之间的距离。本实用新型的用于小鼠的光老化实验装置,可以对多只小鼠同时进行光老化实验,便于控制小鼠皮肤上的紫外光照强度,以及能够固定小鼠的受照射面。 | ||||
| 补充信息 | |||||
| 转让方式: | 成熟度: | 预估价值: | |||
| 市场前景: | |||||