样品
成果详情
| 项目简介 | |||||
|---|---|---|---|---|---|
| 技术简介: | |||||
| 专利类型: | 发明 | 专利申请号: | CN201910083886.3 | 公开号: | CN109700518A |
| 专利权人: | 南方医科大学南方医院 | 发明设计人: | 余斌;林庆荣;刘冠峤 | ||
| 所属领域: | |||||
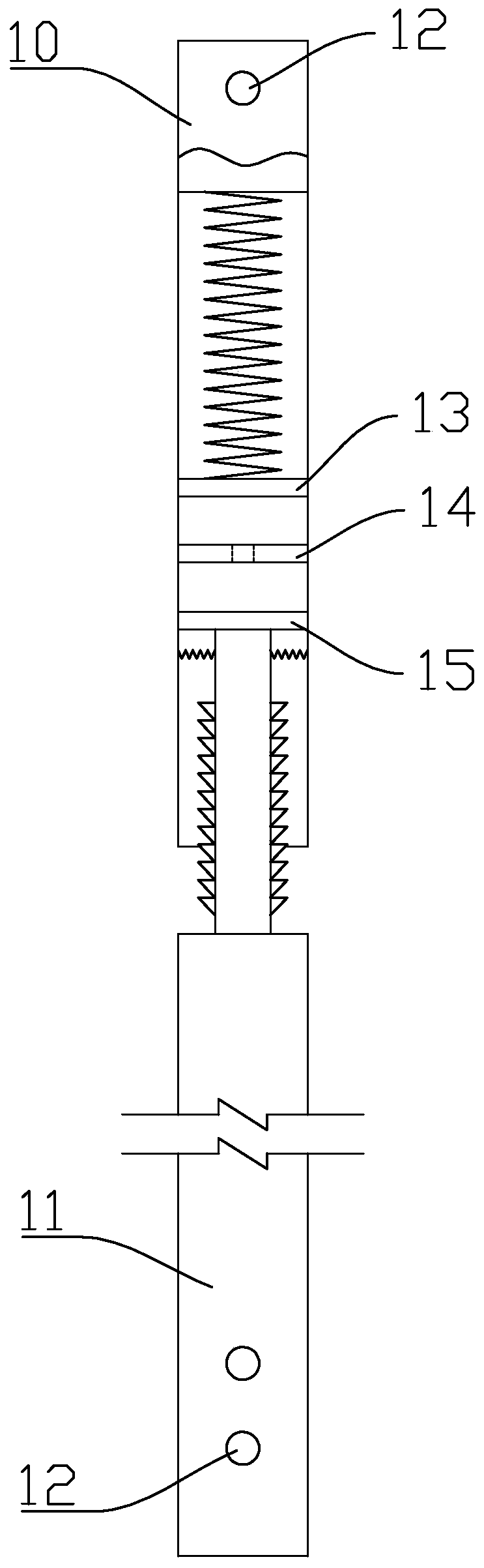
| 摘要: | 本发明公开了一种髓内骨延长辅助装置,包括第一主体和第二主体,第一主体和第二主体上均布置有锁定钉孔,第一主体中成型有滑行腔,滑行腔中布置有第一挡片、第二挡片和第三挡片,第一挡片和第二挡片之间形成第一液压腔,第二挡片和第三挡片之间形成第二液压腔,第二挡片的中部成型有第二通孔,第一挡片与滑行腔的底壁之间布置有第一弹性件,第二主体的一端与第三挡片连接。通过锁定钉孔将第一主体和第二主体分别固定的髓腔内部,在第一弹性件的作用下,通过第一挡片将液压油从第一液压腔推至第二液压腔,通过第三挡片使第二主体移动,完成延长的过程。本发明结构合理,可广泛应用于医疗器械技术领域。 | ||||
| 补充信息 | |||||
| 转让方式: | 成熟度: | 预估价值: | |||
| 市场前景: | |||||