样品
成果详情
| 项目简介 | |||||
|---|---|---|---|---|---|
| 技术简介: | |||||
| 专利类型: | 实用新型 | 专利申请号: | CN201921018934.2 | 公开号: | CN210698044U |
| 专利权人: | 南方医科大学南方医院 | 发明设计人: | 陈宝梅;黄榕;郭萍;郭亚云;陈泽纯;黄少慧 | ||
| 所属领域: | |||||
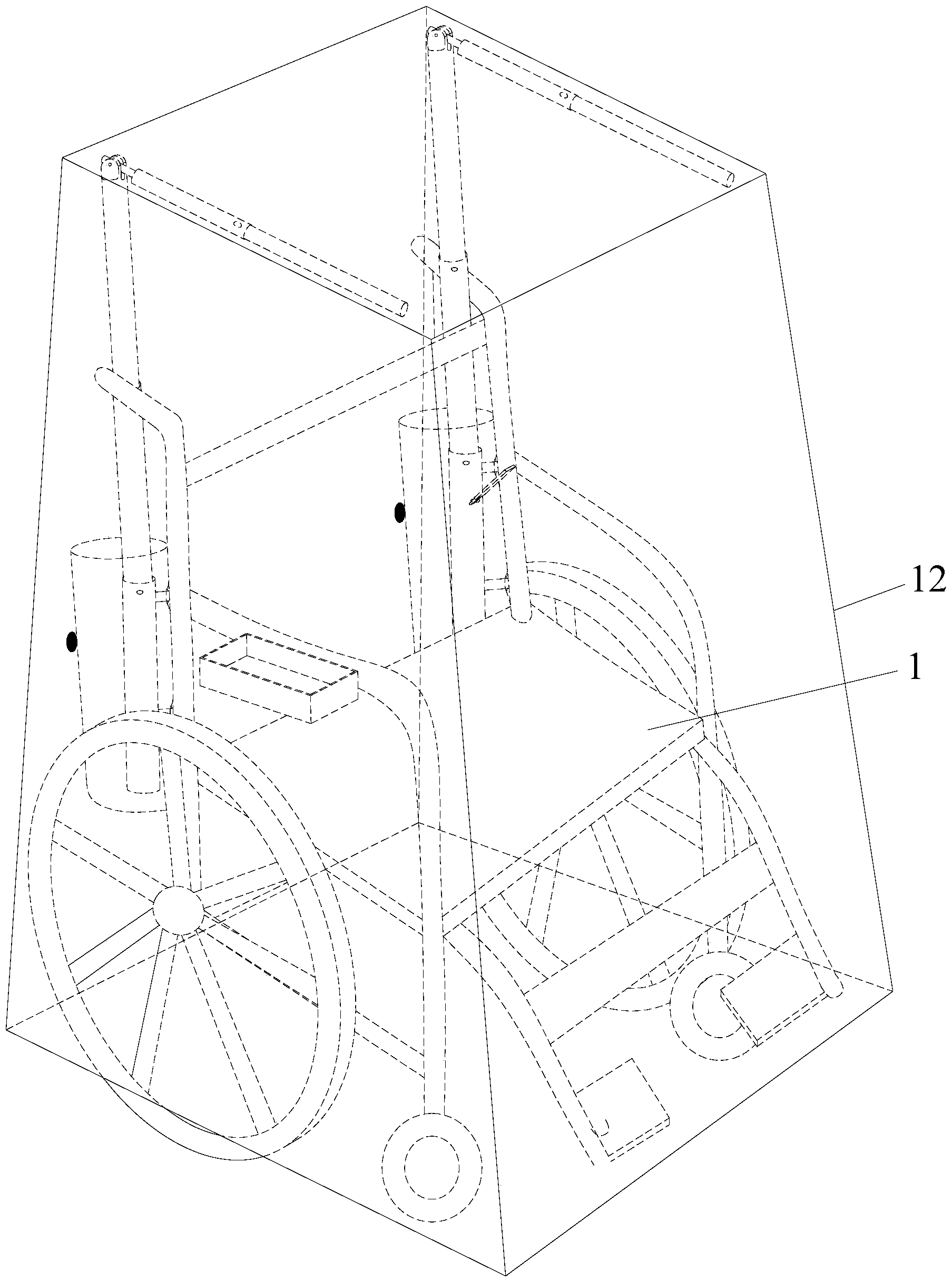
| 摘要: | 本实用新型公开了一种简便的轮椅遮雨装置,包括轮椅,轮椅的后侧有二推车把手,轮椅的前侧有二扶手,所述的各推车把手竖直部分的后侧固定有竖套杆,竖套杆的上端内装有伸缩竖套杆,伸缩竖套杆的上端内装有伸缩竖杆,伸缩竖杆的上端铰接有横套杆,横套杆的前端内装有伸缩横杆,各竖套杆的外围套有收纳袋,各竖套杆上铰接有挂杆,挂杆位于收纳袋外,还包括底部敞口的透明防水罩,透明防水罩遮罩在伸缩横杆、横套杆、伸缩竖杆、伸缩竖套杆、竖套杆、收纳袋和轮椅的外围并且与收纳袋可拆卸连接,各推车把手的水平部分贯穿伸出透明防水罩外,透明防水罩的下边缘接近轮椅的车轮的下边缘。本实用新型的一种简便的轮椅遮雨装置,可完全避免病人淋雨。 | ||||
| 补充信息 | |||||
| 转让方式: | 成熟度: | 预估价值: | |||
| 市场前景: | |||||