样品
成果详情
| 项目简介 | |||||
|---|---|---|---|---|---|
| 技术简介: | |||||
| 专利类型: | 实用新型 | 专利申请号: | CN202122681358.3 | 公开号: | CN216675819U |
| 专利权人: | 南方医科大学南方医院 | 发明设计人: | 黄镇钦;王志坚;黄泽;李泽霖;陈志勇 | ||
| 所属领域: | |||||
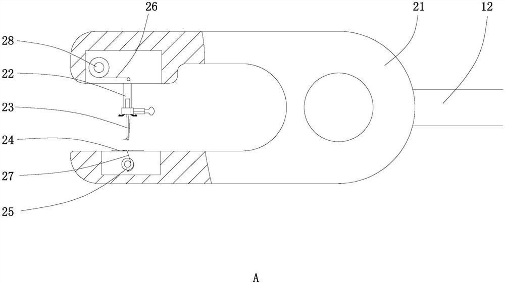
| 摘要: | 本实用新型提出一种单孔腹腔镜下缝合器,单孔腹腔镜下缝合器包括手持部和缝合部,缝合部安装在手持部上,缝合部包括保护套、缝针组件和底板组件,保护套的边缘光滑过渡,保护套包括第一安装臂和第二安装臂,缝针组件安装在第一安装臂上,缝针组件包括缝针,底板组件安装在第二安装臂上,缝针能够靠近或远离底板组件以执行缝合动作。缝针组件和底板组件能够实现缝合,保护套能够保护缝针组件,避免缝合部移动时缝针组件划伤人体组织,同时保护套的边缘光滑过渡,提高了保护套的使用安全性,单孔腹腔镜下缝合器不易划伤人体组织。 | ||||
| 补充信息 | |||||
| 转让方式: | 成熟度: | 预估价值: | |||
| 市场前景: | |||||