样品
成果详情
| 项目简介 | |||||
|---|---|---|---|---|---|
| 技术简介: | |||||
| 专利类型: | 实用新型 | 专利申请号: | CN202022051956.8 | 公开号: | CN213312241U |
| 专利权人: | 南方医科大学珠江医院 | 发明设计人: | 曹秀云;李双华 | ||
| 所属领域: | |||||
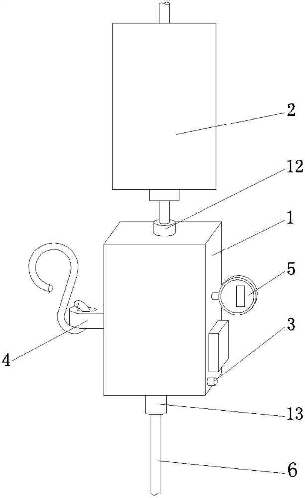
| 摘要: | 本实用新型公开了一种带计量及报警功能的引流液检测器。一种带计量及报警功能的引流液检测器,包括引流瓶,其中,所述引流瓶的出液端与一壳体连接,所述壳体的出液端通过一引流管与外设收集装置连接,在所述壳体内沿竖直方向设有供液体通过的输送管,在所述输送管上设有用于监测该输送管内液体流量的流量计,在所述壳体上装设有能够在液体流动发生异常时发出警报的报警组件,在所述壳体的外壁设有挂钩组件。本实用新型一种带计量及报警功能的引流液检测器,携带方便,有助于医护人员读数并且能够实现无人监控和起到及时警报作用。 | ||||
| 补充信息 | |||||
| 转让方式: | 成熟度: | 预估价值: | |||
| 市场前景: | |||||