样品
成果详情
| 项目简介 | |||||
|---|---|---|---|---|---|
| 技术简介: | |||||
| 专利类型: | 实用新型 | 专利申请号: | CN202421649762.X | 公开号: | CN222888951U |
| 专利权人: | 南方医科大学珠江医院 | 发明设计人: | 汪帅;朱京亮;史本超 | ||
| 所属领域: | |||||
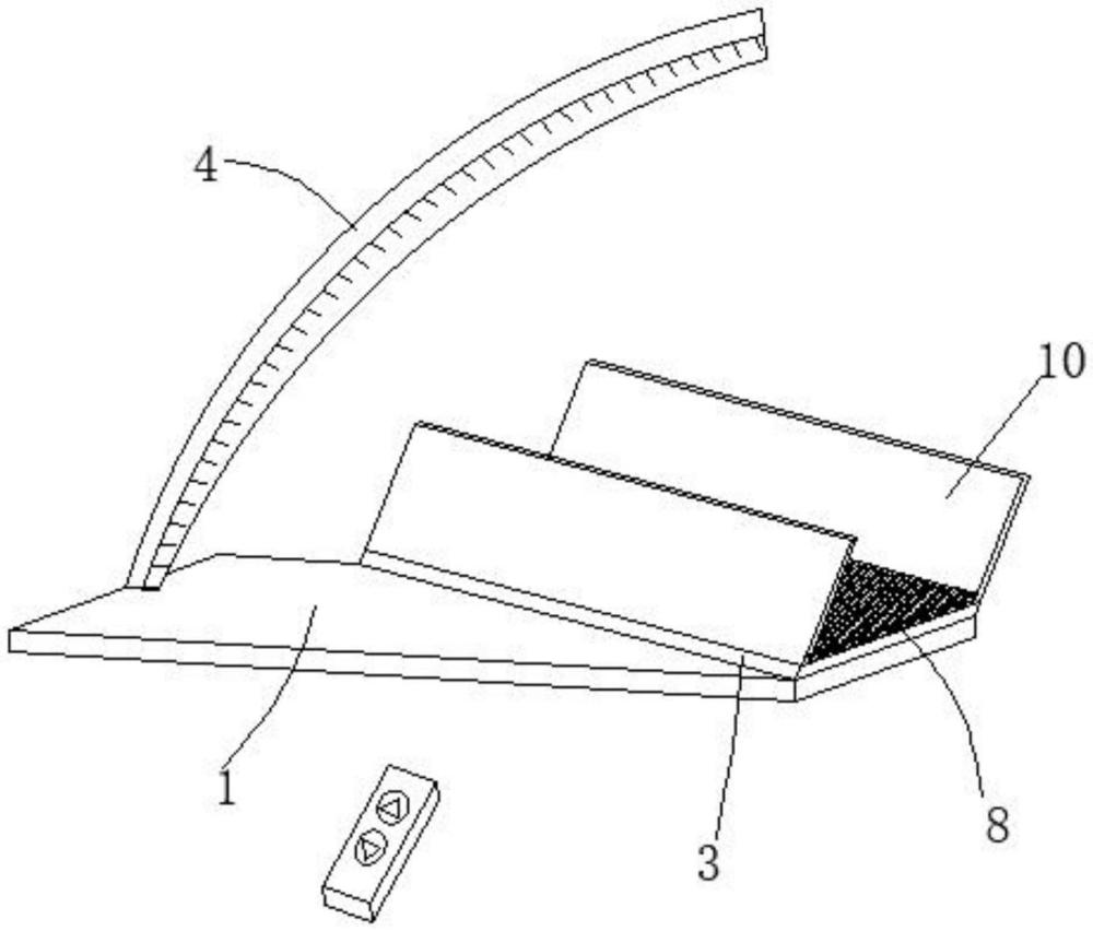
| 摘要: | 本实用新型公开了一种大小鼠斜板试验测量装置,包括底座,所述底座的一端经子母铰链连接有转动板,且所述底座的另一端固定有四分之一圆弧度的,且用于对转动板的转动角度进行测量的角度测量尺,且所述底座与转动板之间设有带动转动板转动的电动推杆,且所述转动板的两侧设有直板,所述倾角测量器安装有角度测量尺上的刻度进行指示标记的红色激光发射器;本实用新型通过遥控控制底座以及转动板之间的角度;能够以数显的方式在小数点后1位数的精度准确读出数值,并通过双重核对来保证数据科学性。并在转动板以及直板所构造的U型板和底部的全铺设的橡胶垫能够避免动物抓住边缘导致实验失败,增加实验的成功率。 | ||||
| 补充信息 | |||||
| 转让方式: | 成熟度: | 预估价值: | |||
| 市场前景: | |||||