样品
成果详情
| 项目简介 | |||||
|---|---|---|---|---|---|
| 技术简介: | |||||
| 专利类型: | 实用新型 | 专利申请号: | CN202121017590.0 | 公开号: | CN214777477U |
| 专利权人: | 南方医科大学南方医院 | 发明设计人: | 范红阳;黄良;李莼;沈静 | ||
| 所属领域: | |||||
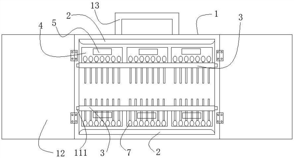
| 摘要: | 本实用新型提一种用于放置开封棉签的无菌存储盒,包括有存储盒、多个紫外线杀菌灯、棉签放置板、多个透明隔离罩和时间记录仪,棉签放置板可拆卸式固定于存储盒内,棉签放置板上开设有多个用于放置棉签的棉签插孔,多个紫外线杀菌灯分别固定于存储盒内壁的上下两端,且与透明隔离罩相对设置,多个透明隔离罩可拆卸式固定于棉签放置板上端,时间记录仪可拆卸式固定于透明隔离罩上且用于记录放置于棉签放置板上棉签的放置时间,棉签插孔位于透明隔离罩内,该无菌存储盒,不仅够对棉签进行有效的杀菌,同时还能有效避免存储盒在打开或者拿取少量棉签时,棉签存在被污染的可能性,具有操作简单、密封性好和杀菌性强的优点。 | ||||
| 补充信息 | |||||
| 转让方式: | 成熟度: | 预估价值: | |||
| 市场前景: | |||||