样品
成果详情
| 项目简介 | |||||
|---|---|---|---|---|---|
| 技术简介: | |||||
| 专利类型: | 实用新型 | 专利申请号: | CN201920214170.8 | 公开号: | CN209679011U |
| 专利权人: | 南方医科大学珠江医院 | 发明设计人: | 张玉娴 | ||
| 所属领域: | |||||
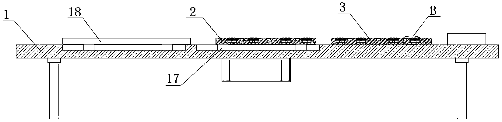
| 摘要: | 本实用新型属于腰椎病治疗领域,尤其是一种治疗腰椎病患者的辅助治疗仪,针对现有的牵引辅助治疗方式容易使患者手臂酸痛,不能长时间持续,影响治疗效果,且在治疗牵引治疗时无法对患者的腰椎部位进行同步按摩,不能达到很好的治疗效果问题,现提出如下方案,其包括治疗床,所述治疗床的顶部滑动安装有牵引板,本实用新型结构简单,操作方便,可自动对患者腰椎进行牵引治疗,节约了人力,通过按摩球对患者进行按摩可促进患者腰椎部位的血液循环使皮肉组织松软,调高牵引治疗的效果,通过发热灯发热可提高患者牵引治疗时腰椎部位的舒适度,通过压簧可以缓解按摩球在按摩时受到的压力,提高按摩的舒适度。 | ||||
| 补充信息 | |||||
| 转让方式: | 成熟度: | 预估价值: | |||
| 市场前景: | |||||