样品
成果详情
| 项目简介 | |||||
|---|---|---|---|---|---|
| 技术简介: | |||||
| 专利类型: | 实用新型 | 专利申请号: | CN201921496489.0 | 公开号: | CN210471722U |
| 专利权人: | 南方医科大学南方医院 | 发明设计人: | 杨莉;王莉慧;宋娟;江小密;刘万保 | ||
| 所属领域: | |||||
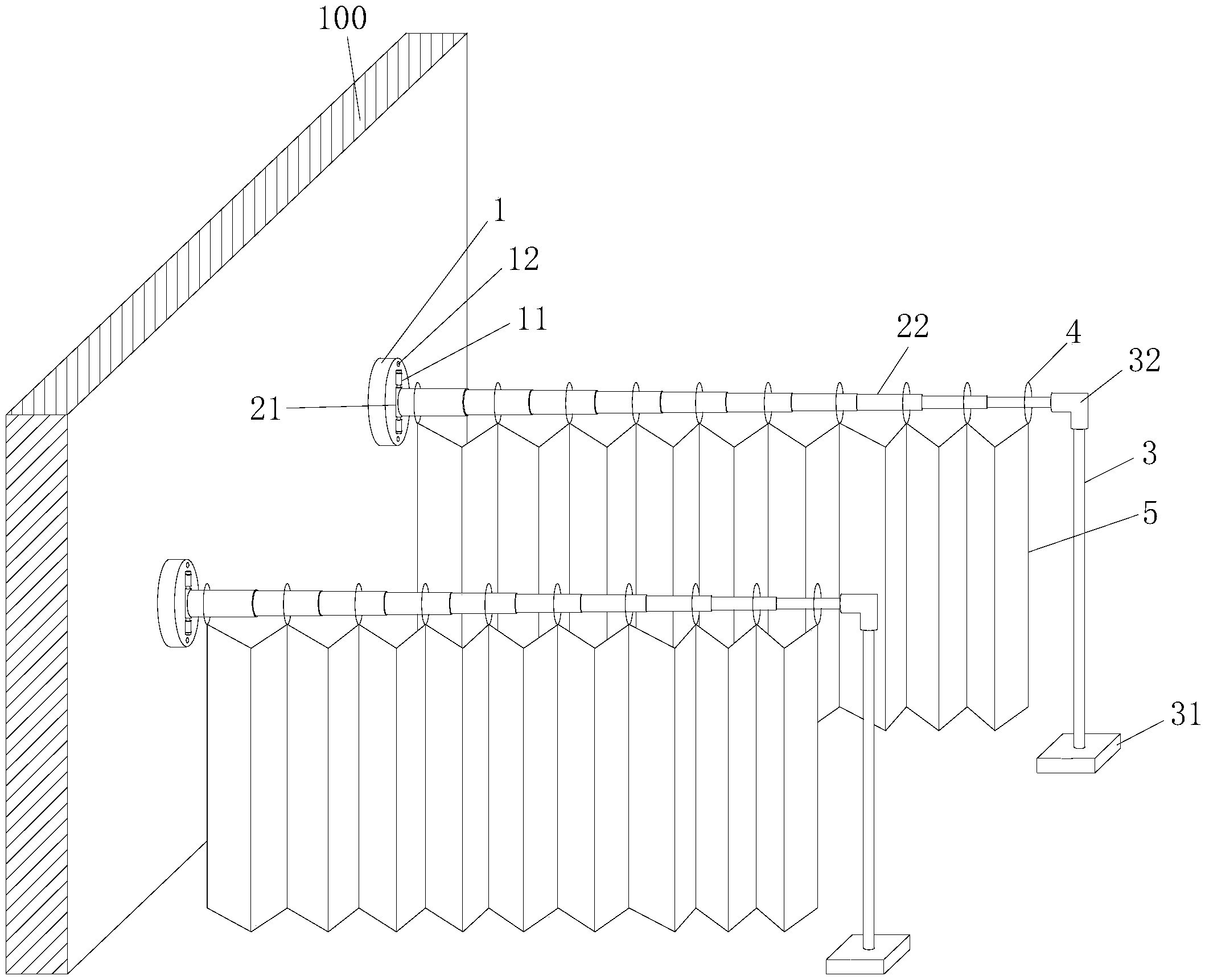
| 摘要: | 本实用新型公开了一种墙上可伸缩式屏风,包括于病床床头两侧固定在墙上的二墙上固定座和水平布置的二可伸缩杆,所述各可伸缩杆的一端可在水平面内旋转地铰接连接在相应墙上固定座上,各可伸缩杆的另一端可拆卸连接有竖向布置的支撑杆,各可伸缩杆上套有挂环,各可伸缩杆的挂环的下侧连接有可折叠遮帘。本实用新型的墙上可伸缩式屏风不占地方,使用方便。 | ||||
| 补充信息 | |||||
| 转让方式: | 成熟度: | 预估价值: | |||
| 市场前景: | |||||