样品
成果详情
| 项目简介 | |||||
|---|---|---|---|---|---|
| 技术简介: | |||||
| 专利类型: | 实用新型 | 专利申请号: | CN202121742862.3 | 公开号: | CN215386328U |
| 专利权人: | 南方医科大学 | 发明设计人: | 张立力;陈宝如;成丽;王梓琪;秦岚;曹亚星;汤仲舜 | ||
| 所属领域: | |||||
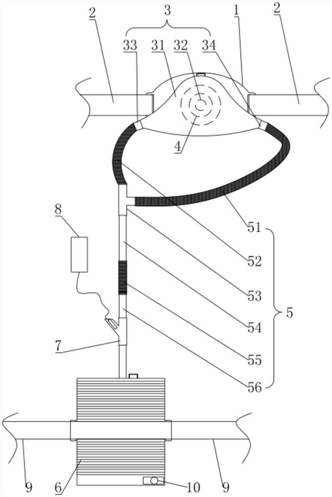
| 摘要: | 本实用新型公开了一种改良的集尿装置,包括带有贯穿口的固定压板,在所述固定压板上设有第一弹性带;在所述固定压板的贯穿口上嵌设有一用于与造口患者体内留置的引流管相连接且自带有挂耳的集尿袋,在所述集尿袋上且位于与引流管相连接的一端设有单向阀且该单向阀的流通方向自引流管向所述集尿袋方向单向流通,所述集尿袋通过一连接管路连接有一自带有挂耳的可伸缩储尿袋。本实用新型具有携带方便、能够有效防止尿液逆流、降低尿路感染发生率、不易造成引流管堵塞、不易造成尿液浸漏污染造口患者的衣物、有利于保护造口患者自身形象以及改善造口患者生活质量的优点。 | ||||
| 补充信息 | |||||
| 转让方式: | 成熟度: | 预估价值: | |||
| 市场前景: | |||||