样品
成果详情
| 项目简介 | |||||
|---|---|---|---|---|---|
| 技术简介: | |||||
| 专利类型: | 实用新型 | 专利申请号: | CN202321738941.6 | 公开号: | CN220572501U |
| 专利权人: | 南方医科大学南方医院 | 发明设计人: | 谢仁;蔡丽丹;蒲晓春;江茵;邹霄朦;向美燕 | ||
| 所属领域: | |||||
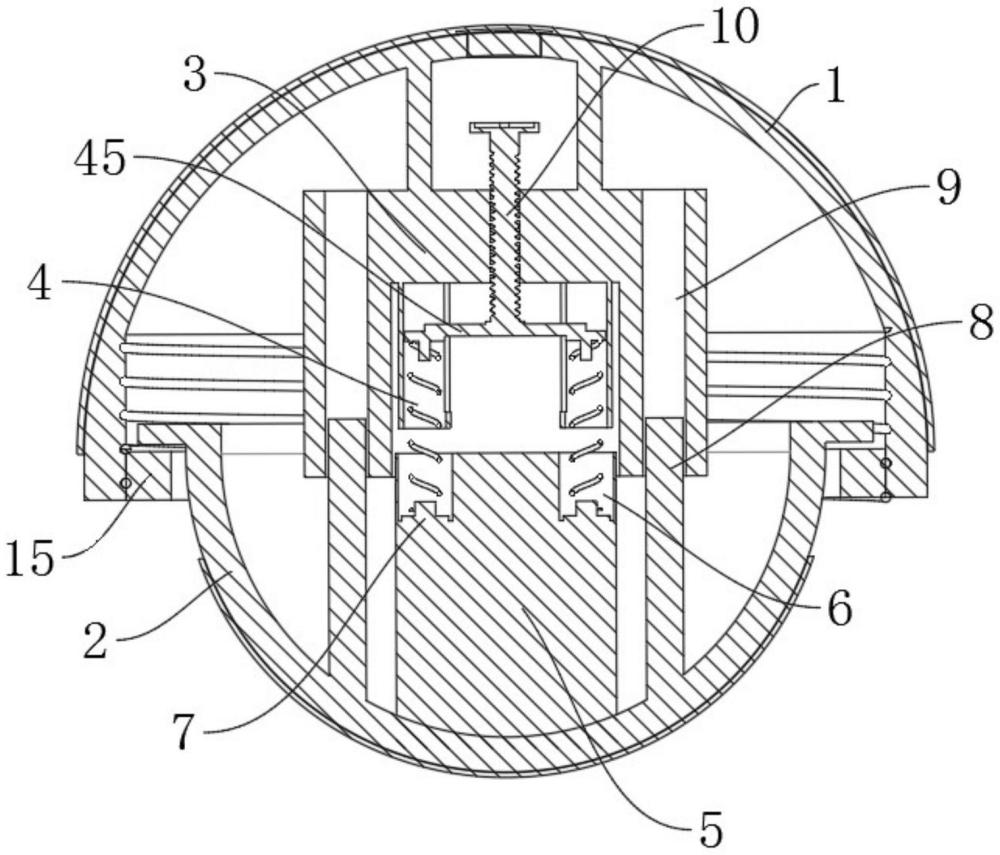
| 摘要: | 本实用新型公开了一种压力舒缓装置,属于锻炼装置技术领域。一种压力舒缓装置,包括按压壳一,以及安装在按压壳一内的按压壳二,所述按压壳一的内部固定连接有固定座,所述固定座的内部固定连接有舒缓机构,所述按压壳二的内部固定连接有导向块,所述导向块的表面开设有通槽,所述通槽内径尺寸与舒缓机构相适配;所述舒缓机构包括固定在固定座内壁的套筒,所述套筒的内部滑动连接有滑动块;本实用新型通过套筒、滑动块和按压弹簧之间的配合下,可以将按压壳一和按压壳二相互之间重复按压,通过此种方式的设置,实现了使用者通过手部过程中按压力度一致,以便于起到转移注意力,同时起到宣泄效果,进一步达到舒缓压力的目的。 | ||||
| 补充信息 | |||||
| 转让方式: | 成熟度: | 预估价值: | |||
| 市场前景: | |||||