样品
成果详情
| 项目简介 | |||||
|---|---|---|---|---|---|
| 技术简介: | |||||
| 专利类型: | 实用新型 | 专利申请号: | CN202222174813.5 | 公开号: | CN219049525U |
| 专利权人: | 南方医科大学珠江医院 | 发明设计人: | 宋虹桥 | ||
| 所属领域: | |||||
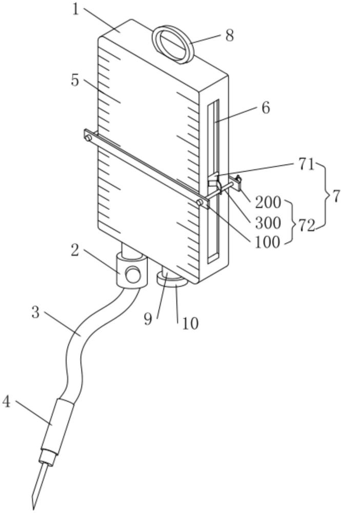
| 摘要: | 本实用新型公开了一种甘露醇抽排液装置,包括储液袋,在所述储液袋的底部通过一带有截止阀的输液管连接有穿刺针;所述储液袋为透明的储液袋,在所述储液袋的外表面上设有计量刻度,在所述储液袋两侧端均设有卡槽,在所述卡槽上设有一用于限定所述储液袋抽排甘露醇的剂量的夹持限定结构。本实用新型具有能够有效降低医护人员工作量、不易造成药物以及环境污染的优点。 | ||||
| 补充信息 | |||||
| 转让方式: | 成熟度: | 预估价值: | |||
| 市场前景: | |||||