样品
成果详情
| 项目简介 | |||||
|---|---|---|---|---|---|
| 技术简介: | |||||
| 专利类型: | 实用新型 | 专利申请号: | CN202321890518.8 | 公开号: | CN221206411U |
| 专利权人: | 南方医科大学深圳医院 | 发明设计人: | 曾潍贤 | ||
| 所属领域: | |||||
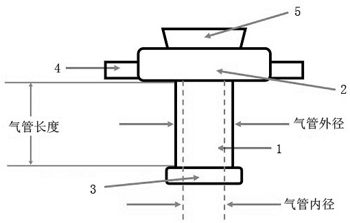
| 摘要: | 一种气管暂时性封堵装置,包括中空的管体(1)、设置在所述管体(1)上方的体外端环形底座(2)、设置在所述管体(1)下方的体内段凸起部(3),以及设置在所述体外端环形底座(2)侧面的绑带固定部(4);还包括圆锥台形的盖子(5),所述盖子(5)与所述体外端环形底座(2)配合连接,封堵管体。所述绑带固定部(4)为环形的耳状结构。还包括连接所述盖子(5)与所述体外端环形底座(2)的连接绳(6)。本实用新型的有益效果在于:1、可以使用绑带将本装置固定于颈部,防止脱落;2、帮助患者封堵窦道,使患者可以发声;3、有效地帮助患者清除喉部分泌物,无需重新插气管,大大地减小患者的痛苦。 | ||||
| 补充信息 | |||||
| 转让方式: | 成熟度: | 预估价值: | |||
| 市场前景: | |||||