样品
成果详情
| 项目简介 | |||||
|---|---|---|---|---|---|
| 技术简介: | |||||
| 专利类型: | 实用新型 | 专利申请号: | CN202022257524.2 | 公开号: | CN213852028U |
| 专利权人: | 南方医科大学珠江医院 | 发明设计人: | 邓宇;韩娜;张小美;谷丁梅 | ||
| 所属领域: | |||||
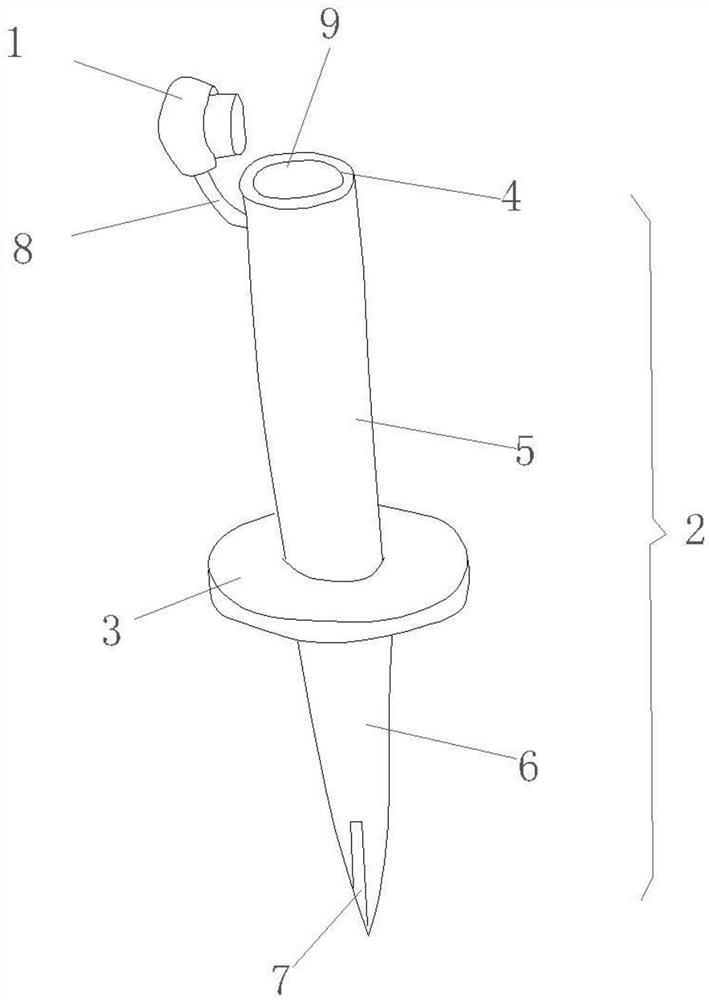
| 摘要: | 本实用新型公开了一种液体连接头,包括有盖子、连接端和凸边,当软包装碳酸氢钠注射液瓶被打开后,往瓶子的软塞插入液体连接头,连接端的尾部卡入软塞中,凸边盖住碳酸氢钠注射液瓶的瓶口,防止瓶子打翻后液体溢出,碳酸氢钠注射液瓶的液体从连接端的尾部流出头部,连接端的头部设有盖子,在不使用时,将盖子盖上即可,防止整瓶碳酸氢钠注射液暴露于空气中。 | ||||
| 补充信息 | |||||
| 转让方式: | 成熟度: | 预估价值: | |||
| 市场前景: | |||||